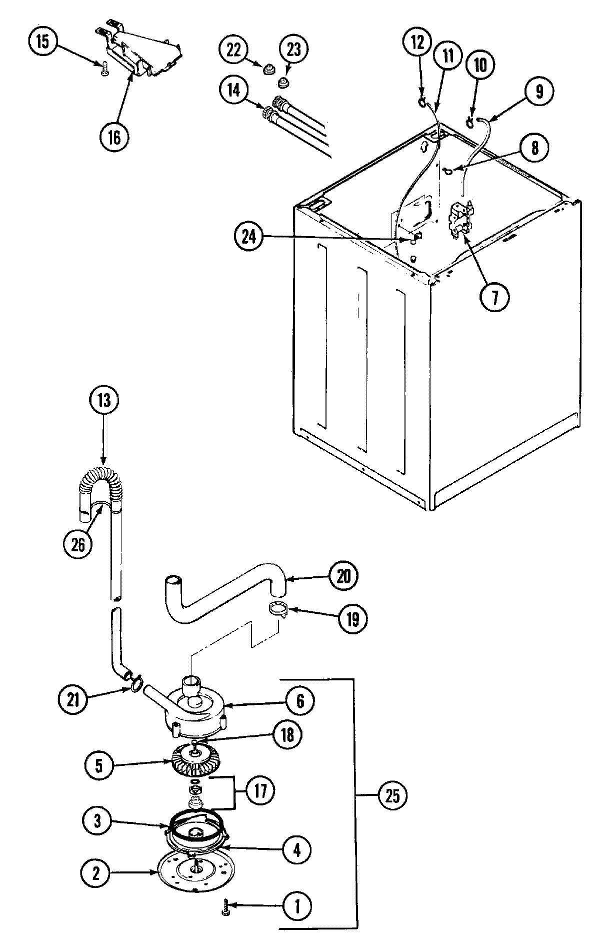
LATA200AAW 03 – MOTOR & PUMPadmin2025-04-26T08:56:35+00:00LATA200AAW 03 – MOTOR & PUMP ProductsPositionProduct1MAY 25-74052MAY 33-60353MAY 33-60324MAY 35-20585WP35-6465 Whirlpool Drain Pump6MAY 35-20567WP25-7220 Whirlpool Cabinet Clip7MAY 35-2374912002749 Whirlpool Flume Hose Kit11MAY 35-226111MAY 35-232112MAY 33-609913MAY 35-353913MAY 33-953714FILL HOSE 5' W/WASHER14MAY 35-087415WP90767 Whirlpool Screw16MAY 35-205117MAY 35-070718MAY 25-789419WP285655 Whirlpool Hose Clamp20WP21001915 Whirlpool Hose Tub22MAY 25-704823MAY 33-731324WP596669 Whirlpool Hose Clamp25MAY 35-234425MAY 35-2099