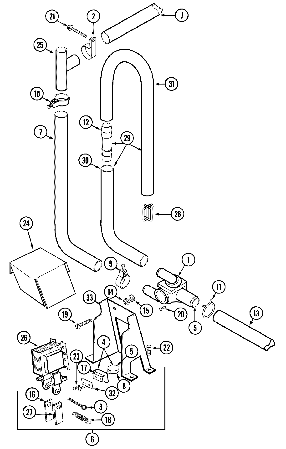
LAW9304AAL 08 – WATER SAVER COMPONENTSadmin2025-04-26T08:56:38+00:00LAW9304AAL 08 – WATER SAVER COMPONENTS ProductsPositionProduct1MAY 2043132MAY 2114483MAY 0523664MAY 2048235MAY 2025046MAY 2011687MAY 2111108MAY 2110839MAY 20046110MAY 20090811WP285655 Whirlpool Hose Clamp12WP16272 Whirlpool Hose Coupling13HOSE14MAY 05269015WP3400029 Whirlpool Dishwasher Nut16MAY 21385517MAY 21385618MAY 21108519MAY Y05426020WP90767 Whirlpool Screw21MAY Y31084222MAY 91009123MAY 91126624MAY 2113882576660 Whirlpool Syphon Break with Clamps26MAY 20080627MAY 21108728MAY 21205629MAY 20073630MAY 21117131MAY 21117032MAY 20082833MAY 211516