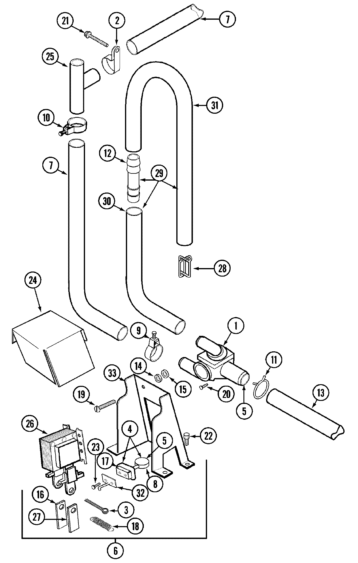
LAW9704AAE 08 – WATER SAVER COMPONENTS