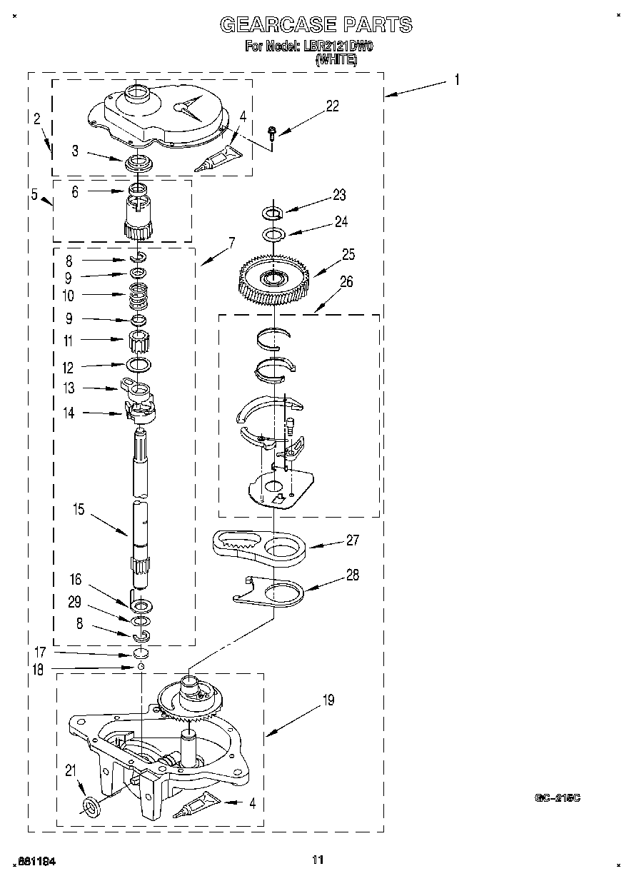
LBR2121DW0 09 – GEARCASE