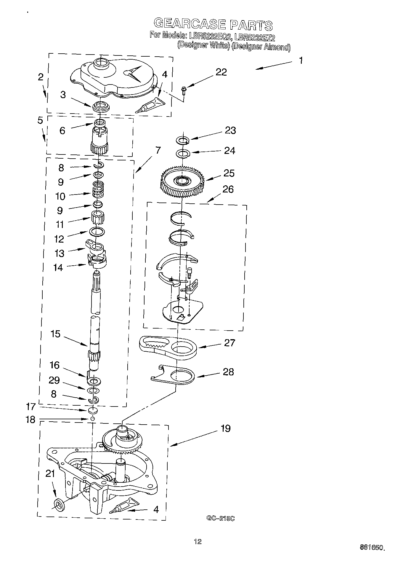
LBR5232EQ2 08 – GEARCASE