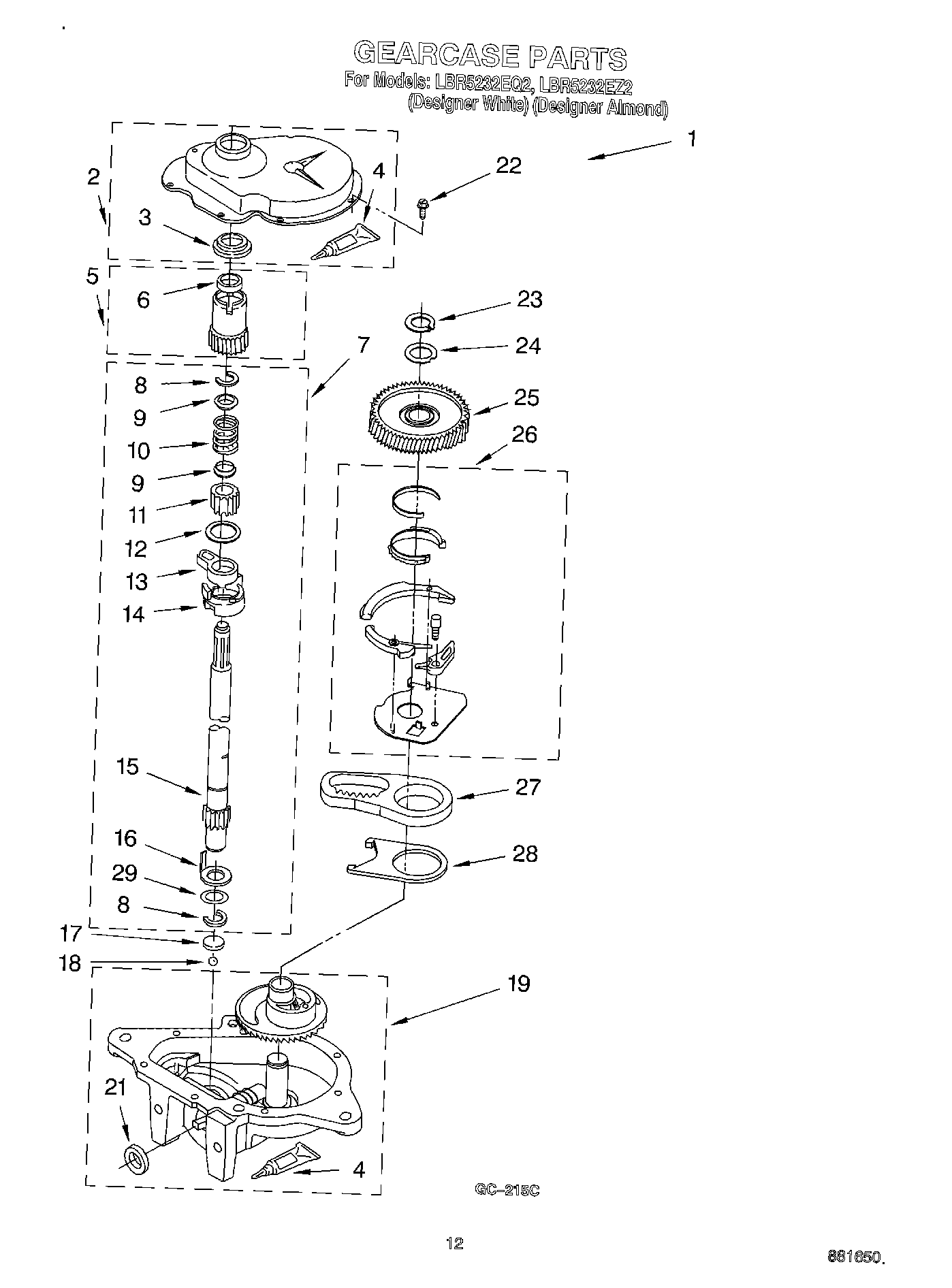
LBR5232EZ2 08 – GEARCASE