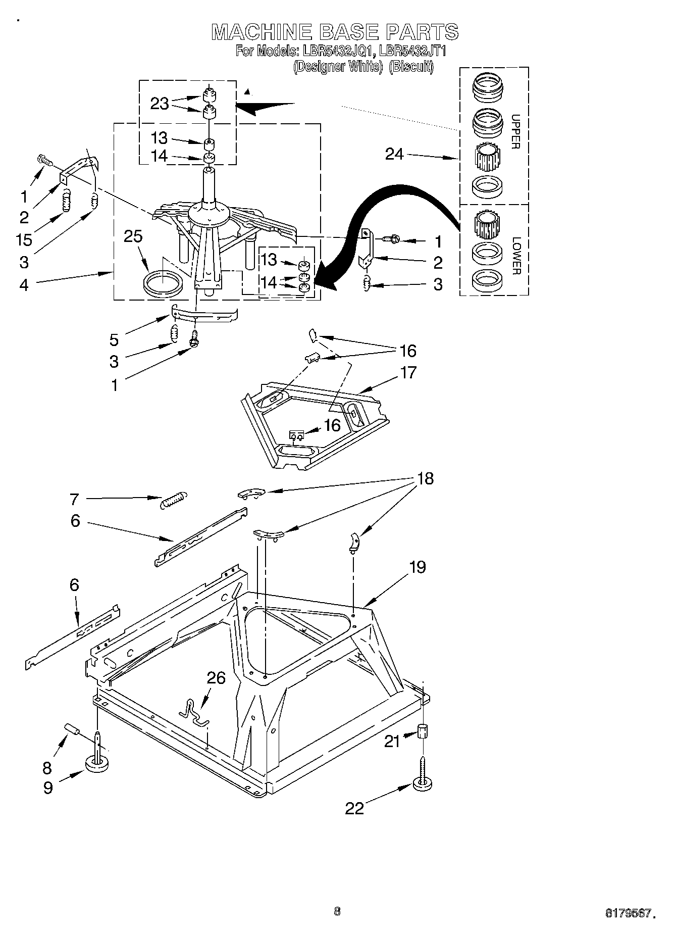
LBR5432JQ1 05 – MACHINE BASE