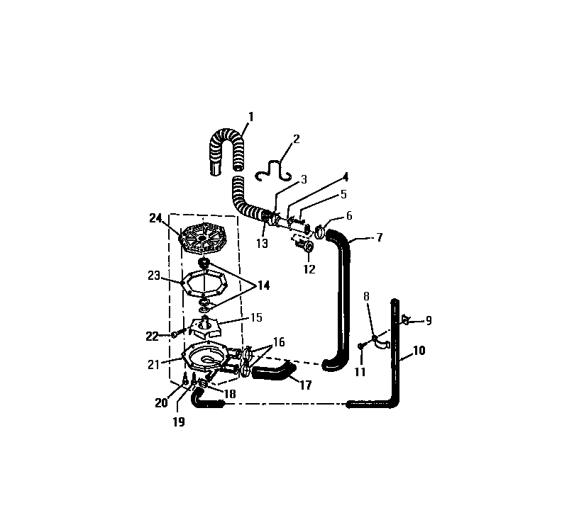
LC590EXD3 04 – PUMP & HOSESadmin2025-04-26T09:49:01+00:00LC590EXD3 04 – PUMP & HOSES ProductsPositionProduct1WCI F1374650002RETAINER-DRAIN HOSE3CLAMP-HOSE4WCI Q1990285WCI F1312760006WCI F0641540117WCI Q1990278WCI F1304911009WCI F07802900010WCI Q19902511WCI Q19902612WCI Q19902913WCI F13225100014SEAL KIT (CONSISTS OF SEAL ASSEMBLY AND GASKET.)15IMPELLER KIT (CONSISTS OF SEAL ASSEMBLY, GASKET, IMPELLE16WCI Q19902417HOSE18WCI Q199023195304401796 Frigidaire Screws20SCREW-PUMP MTG. (4)21WCI F07735100022SCREW-IMPELLER23WCI F07735400024WCI F077352000