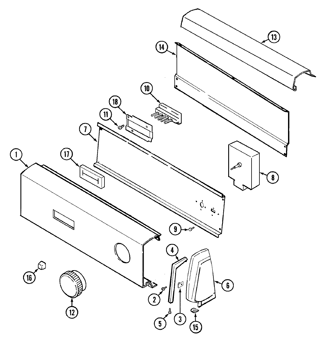
LDE1000GGE 02 – CONTROL PANEL