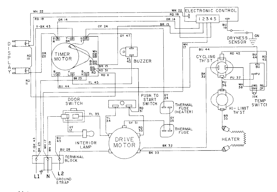
LDE5914ACE 08 – WIRING INFORMATION-LDE5914ACxadmin2025-04-26T08:56:41+00:00LDE5914ACE 08 – WIRING INFORMATION-LDE5914ACx ProductsPositionProductNIMAY 15001012NIMAY 15001585