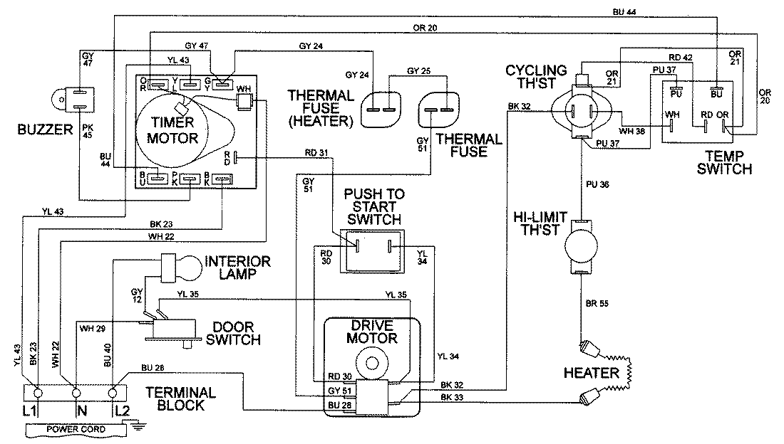
LDE8416ADE 09 – WIRING INFORMATIONadmin2025-04-26T08:56:40+00:00LDE8416ADE 09 – WIRING INFORMATION ProductsPositionProductNIMAY 15001948