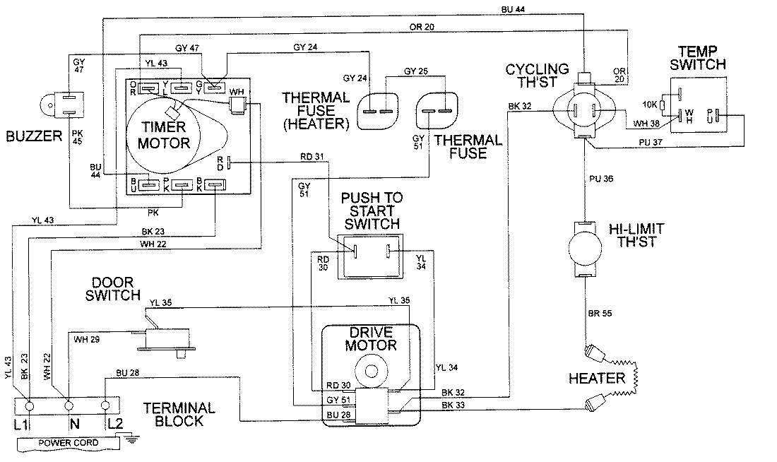
LDE9306ADE 09 – WIRING INFORMATIONadmin2025-04-26T08:56:43+00:00LDE9306ADE 09 – WIRING INFORMATION ProductsPositionProductNIMAY 15001977