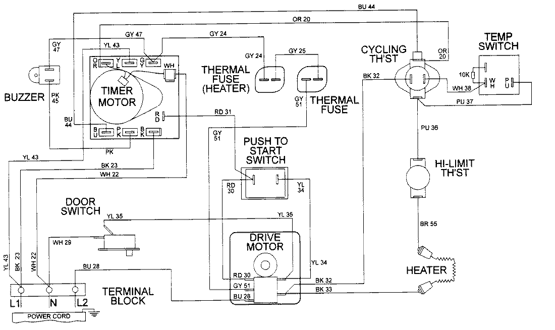
LDE9306ADM 09 – WIRING INFORMATIONadmin2025-04-26T08:57:00+00:00LDE9306ADM 09 – WIRING INFORMATION ProductsPositionProductNIMAY 15001977