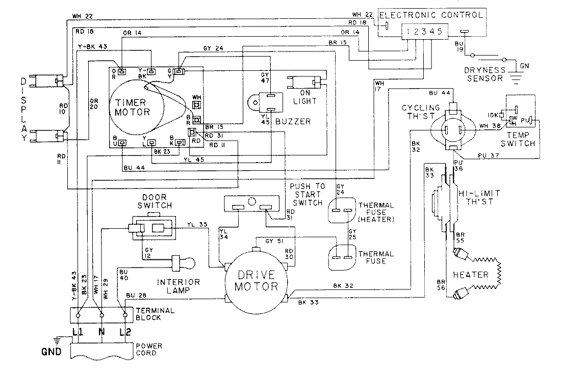
LDE9314ADE 09 – WIRING INFORMATION-LDE9314ADEadmin2025-04-26T08:56:32+00:00LDE9314ADE 09 – WIRING INFORMATION-LDE9314ADE ProductsPositionProductNIMAY 15001057NIMAY 15001612NIMAY 15001626