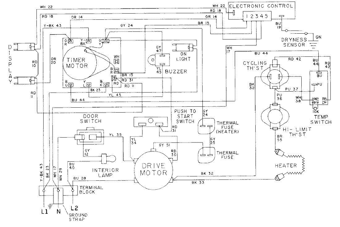
LDE9334ACM 08 – WIRING INSTRUCTIONS-LDE9334ACx

LDE9334ACM 08 – WIRING INSTRUCTIONS-LDE9334ACx

Products

PositionProduct
NIMAY 15001071
NIMAY 15001588