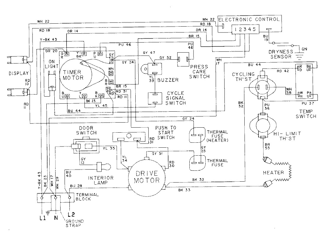
LDE9804ACM 08 – WIRING INFORMATION-LDE9804ACxadmin2025-04-26T08:56:23+00:00LDE9804ACM 08 – WIRING INFORMATION-LDE9804ACx ProductsPositionProductNIMAY 15001069NIMAY 15001577