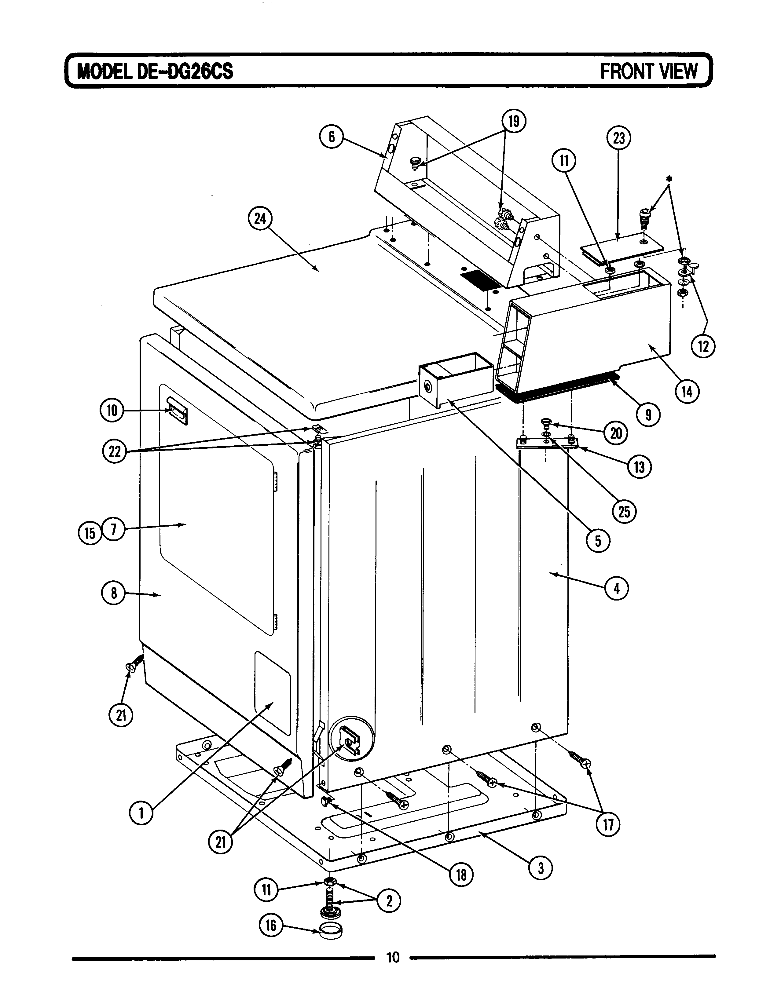
| 002 | W10176519 Whirlpool Leveling Feet |
| 003 | MAY Y303361 |
| 005 | MAY 205423M |
| 005 | COIN BOX-ALMOND |
| 005 | COIN BOX-WHITE |
| 007 | MAY Y307111 |
| 008 | (ALM) |
| 009 | MAY 214660 |
| 010 | MAY 314946 |
| 010 | MAY 314972 |
| 011 | WP62739 Whirlpool Nut |
| 012 | W11165684 Whirlpool Cam |
| 014 | MAY 206956 |
| 014 | MAY 206956L |
| 014 | MAY 206956M |
| 015 | MAY 314966 |
| 016 | WPY314137 Whirlpool Rubber Foot |
| 017 | 213007 Whirlpool Screw #12 |
| 018 | MAY Y310632 |
| 019 | MAY 212276 |
| 020 | WP90767 Whirlpool Screw |
| 021 | SCREW & FSTNER ASSY (FT. PNL) |
| 022 | MAY 204445 |
| 023 | MAY 203188M |
| 023 | ACCESS DOOR-ALMOND |
| 023 | MAY 203188 |
| 024 | MAY 307105 |
| 024 | DOWEL PIN FOR HANDLE |
| 025 | MAY 910309 |