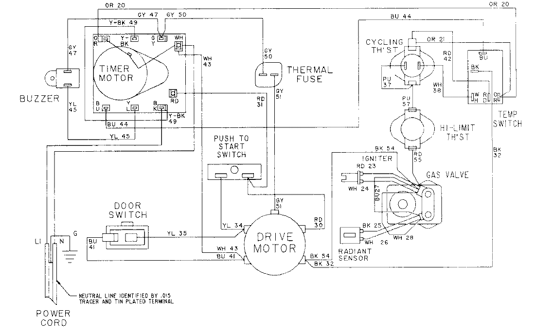
LDG8404AAL 08 – WIRING INFORMATIONadmin2025-04-26T09:02:26+00:00LDG8404AAL 08 – WIRING INFORMATION ProductsPositionProductNIMAY 15001029NIMAY 15001568