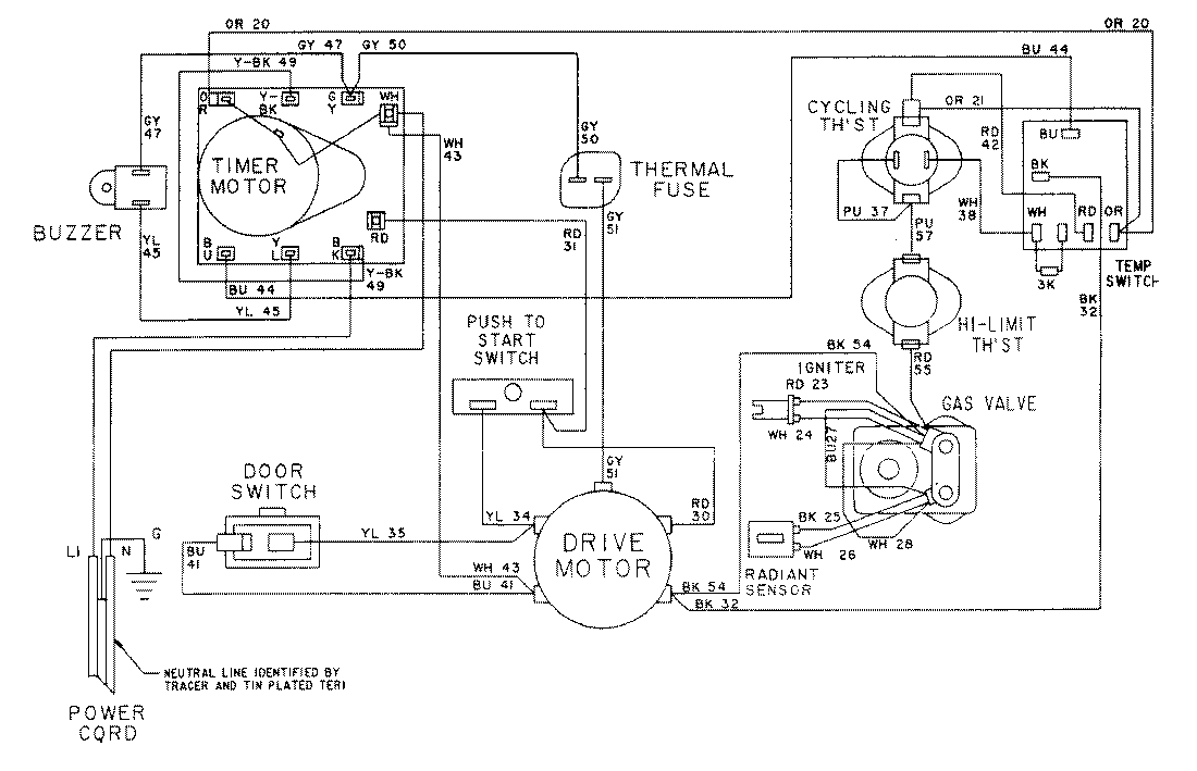
LDG8424AAE 09 – WIRING INFORMATIONadmin2025-04-26T09:03:38+00:00LDG8424AAE 09 – WIRING INFORMATION ProductsPositionProductNIMAY 15001038NIMAY 15001573