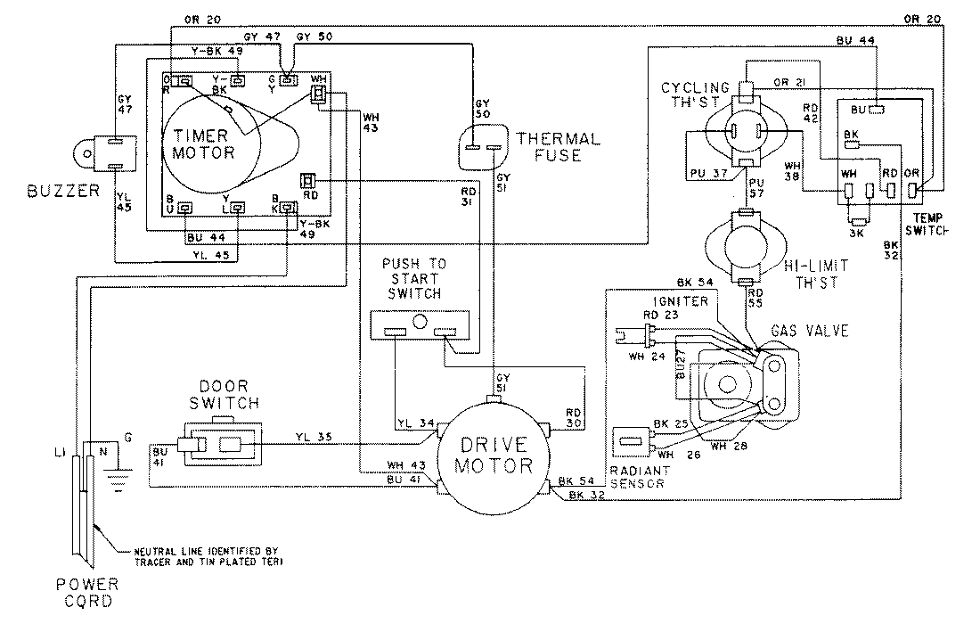
LDG8424AAM 08 – WIRING INFORMATIONadmin2025-04-26T09:03:04+00:00LDG8424AAM 08 – WIRING INFORMATION ProductsPositionProductNIMAY 15001038NIMAY 15001573