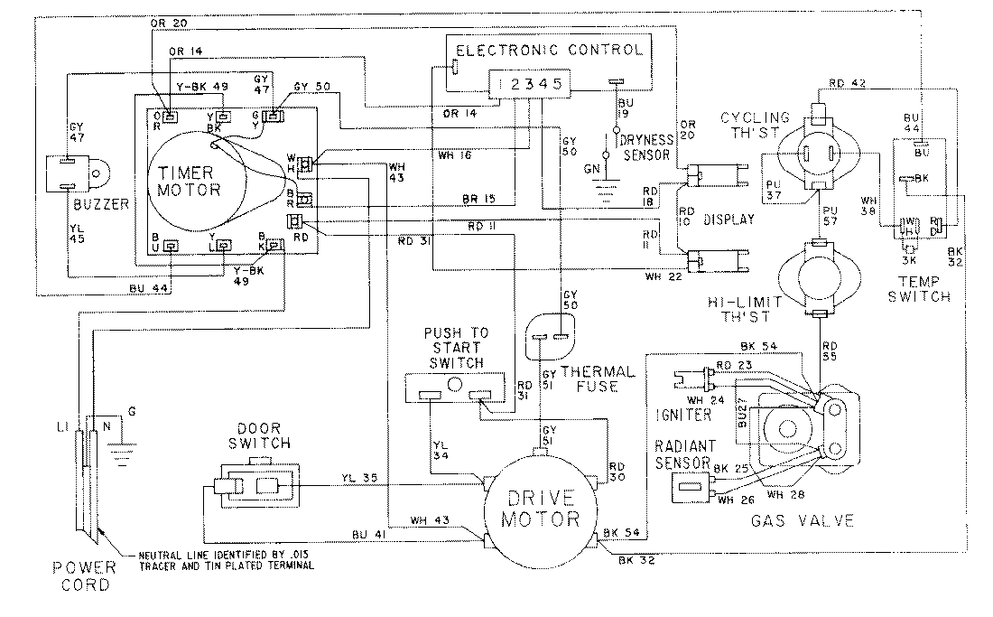
LDG8624AAE 09 – WIRING INFORMATION-LDG8624AAxadmin2025-04-26T09:04:34+00:00LDG8624AAE 09 – WIRING INFORMATION-LDG8624AAx ProductsPositionProductNIMAY 15001052NIMAY 15001563