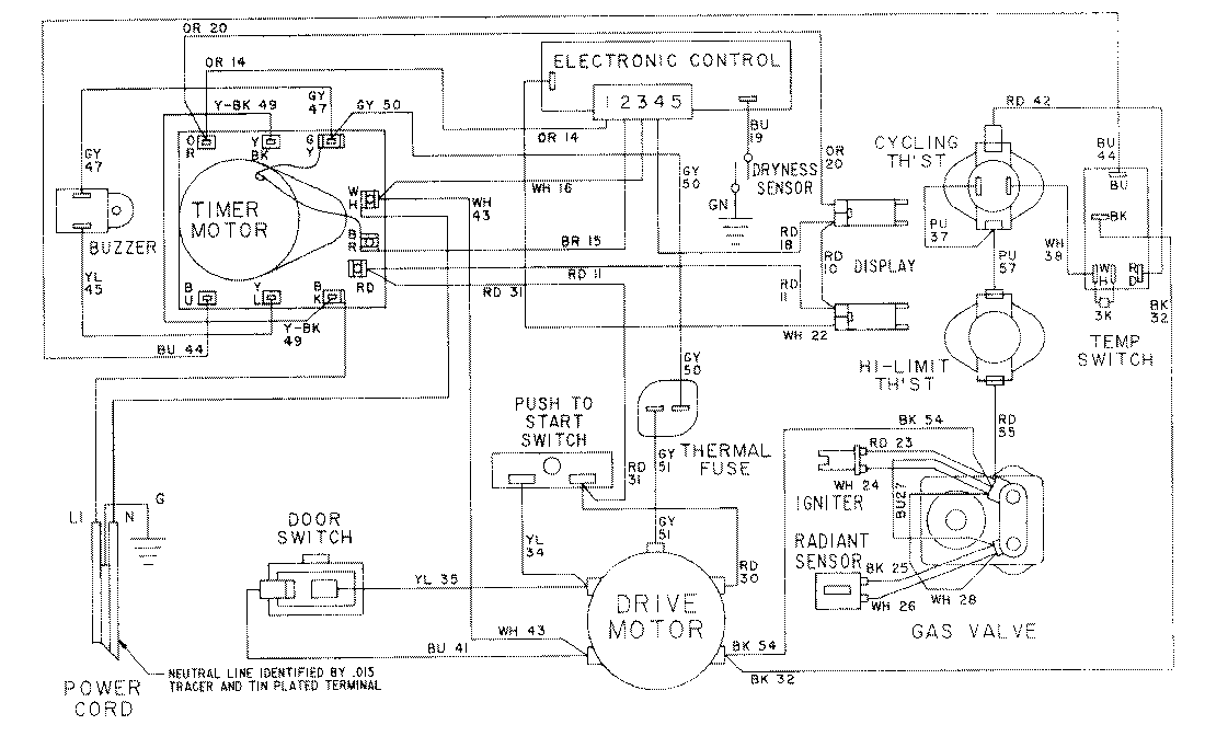
LDG8624AAL 08 – WIRING INFORMATION-LDG8624AAxadmin2025-04-26T09:03:12+00:00LDG8624AAL 08 – WIRING INFORMATION-LDG8624AAx ProductsPositionProductNIMAY 15001052NIMAY 15001563