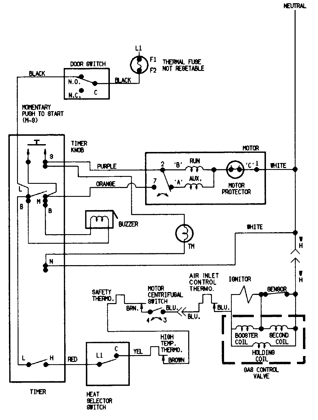
LDGA100AAW 07 – WIRING INFORMATION

LDGA100AAW 07 – WIRING INFORMATION

Products

PositionProduct
NIMAY 15001205