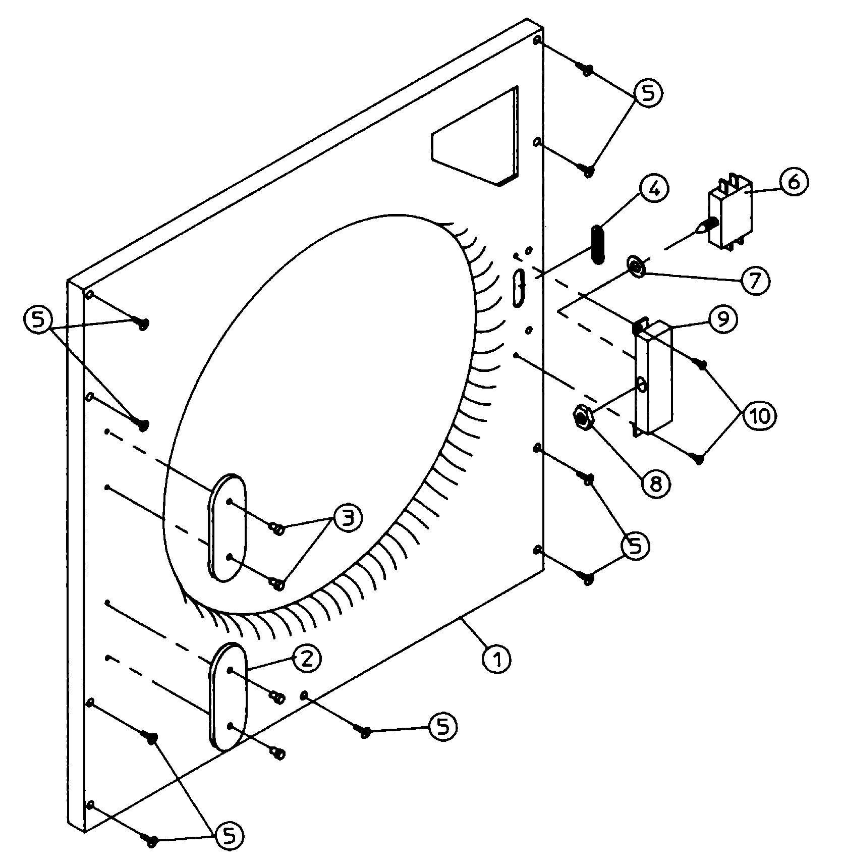
LDGS30PC1 06 – LOWER FRONT PANEL ASSEMBLY
Products
| Position | Product |
|---|---|
| 000 | NOT REQUIRED PART OR SEE NOTE FUSE (NOT REQUIRED) |
| 001 | MAY A880115 |
| 002 | MAY A170340 |
| 003 | MAY A154200 |
| 004 | GROMMET, RUBBER |
| 005 | MAY A150415 |
| 006 | MAY A137003 |
| 007 | MAY A401551 |
| 008 | MAY A152003 |
| 009 | MAY A313209 |
| 009 | MAY A870010 |
| 010 | MAY A150301 |
| 010 | MAY A404502 |
| 010 | MAY A404500 |