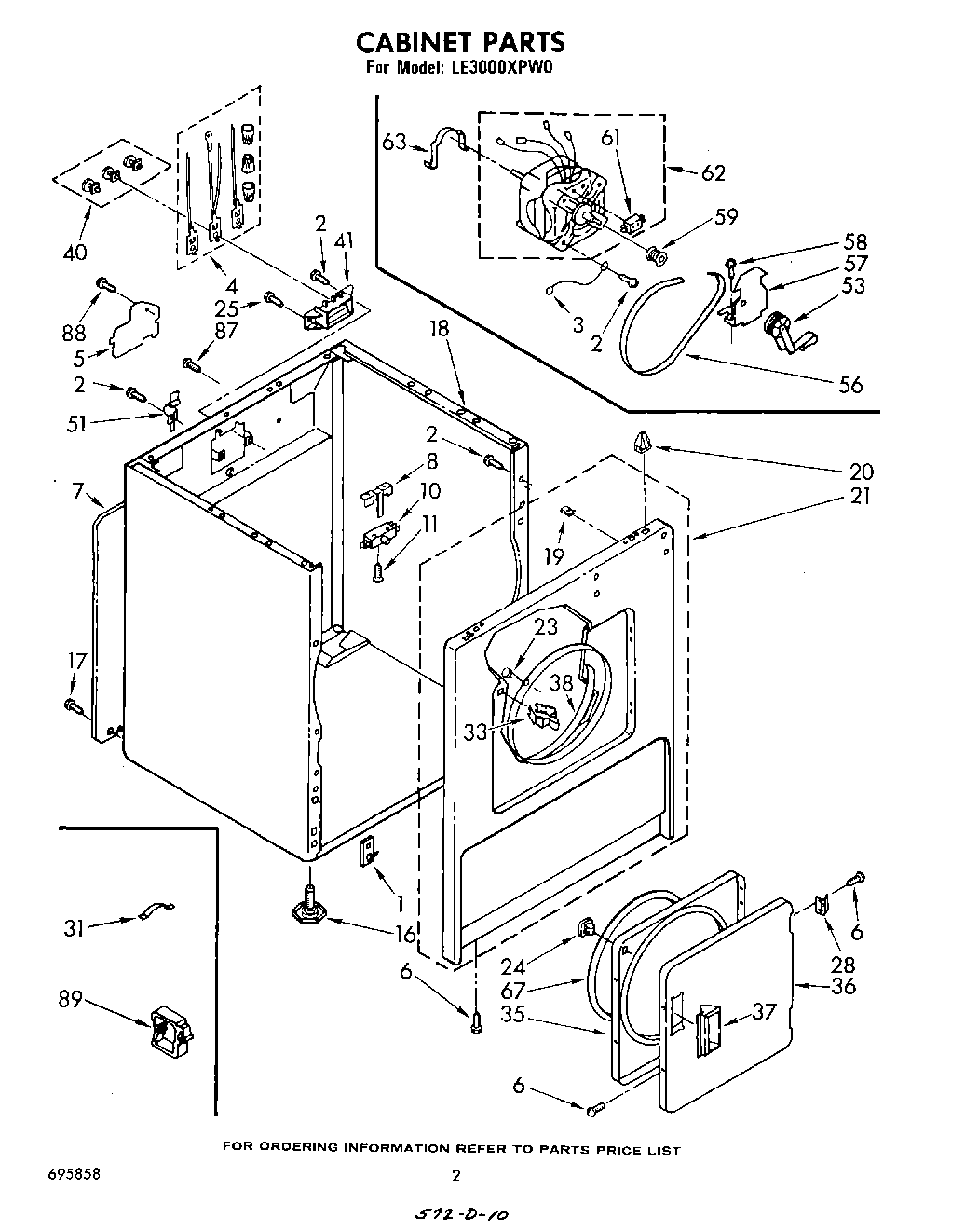
LE3000XPW0 02 – SECTION