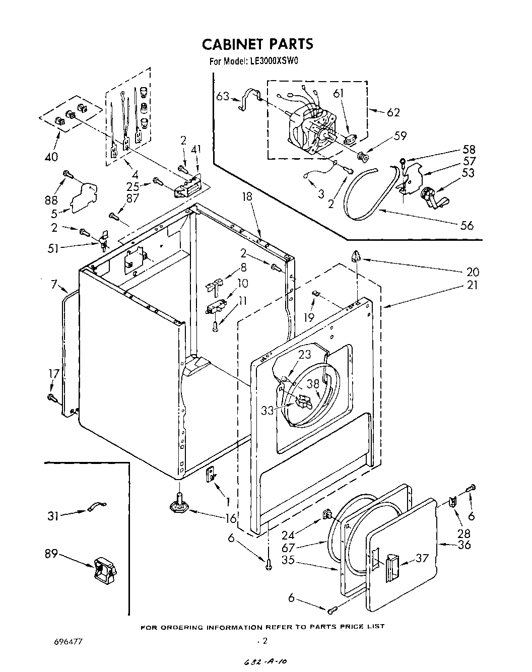
LE3000XSW0 02 – SECTION