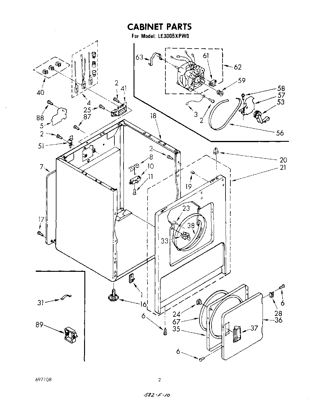
LE3005XPW0 02 – SECTION