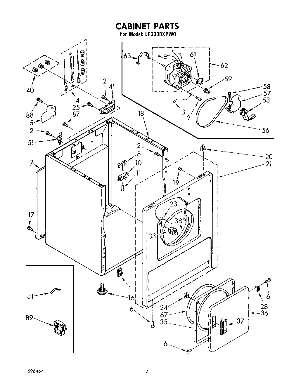
LE3300XPW0 02 – SECTION