LE5810XPW0 03 – SECTION

LE5810XPW0 03 – SECTION

Products

PositionProduct
WPL LIT677967
WPL LIT696767
72113 Whirlpool Touch-Up Paint
Guide, Dryer
Golden Harvest
Golden Harvest (Uncut)
Washer (Belt Drive)
Toast
Paint, Spray (13 Oz.) (Platinum)
Enamal, Toast (1 Qt. Uncut)
Platinum (Uncut)
WPL 72112
Literature Parts (Do-It-Yourself Manual 07-03 Litho In U.S.A. (bd))
WPL LIT677971
72110 Whirlpool Dryer Touch-Up Paint, Golden Harvest 6 Oz
799344 Whirlpool Refrigerator Paint
350938 Whirlpool Spray Gun
WP72107 Whirlpool Touchup
Leveler (Thinner)
Almond (Uncut)
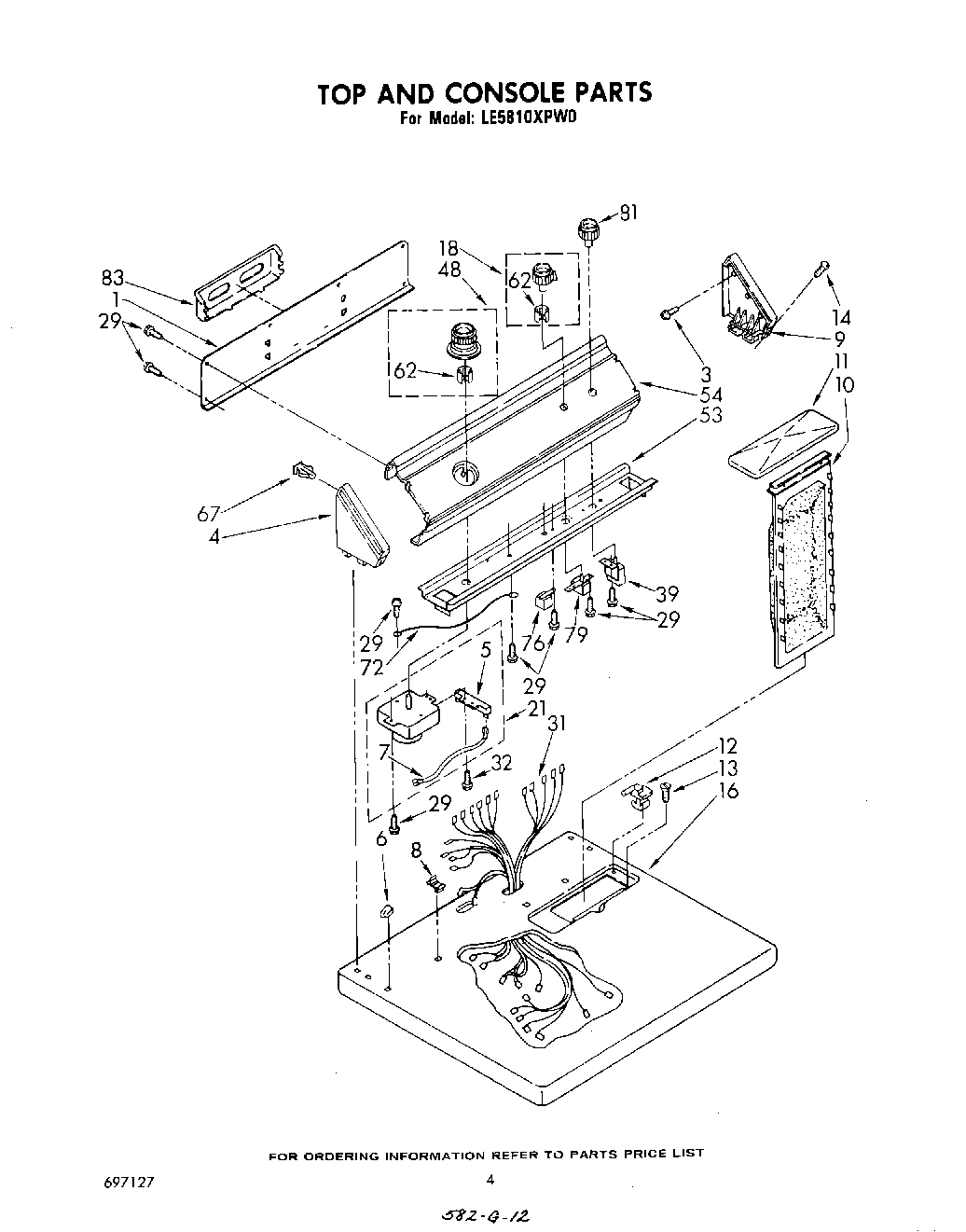
WPL LIT697127
Dryer
WPL LIT696234
350930 Whirlpool White Spray Paint
350956 Whirlpool Spray Assembly
72017 Whirlpool Appliance Touch-Up Paint White
1Panel, Rear
3WPL 355326
4Cap, End (L.H.)
5279872 Whirlpool Resistor
6Nut, Push-In (2)
7Wire, Jumper
8Stop, Push-In Top
9WPL 63795
10339392V Whirlpool Dryer Lint Filter Screen
11Cover, Lint Screen (Almond)
11Cover, Lint Screen (Toast)
11Cover, Lint Screen (Platinum)
11Cover, Lint Screen (Golden Harvest)
11Cover, Lint Screen (White)
12WPW10044480 Whirlpool Hinge Assembly
12WPW10044470 Whirlpool Hinge Assembly
13W11693756 Whirlpool Screw Assembly
14WPL 64211
16Top (Golden Harvest)
16Top (White)
16Top (Toast)
16Top (Platinum)
16Top (Almond)
18Knob, Water Level
21Timer & Resistor Assembly, 60 Hz.
29SCREW
31Harness, Wiring
32WP273556 Whirlpool Screw
39Switch, Push-To-Start
39Switch, Push-To-Start (Alternate)
39WPL 685067
48Timer Knob Assembly
53Bracket, Control
54Panel, Control
62WP688805 Whirlpool Spring Clip
67WP689559 Whirlpool Nut
72Wire, Ground
76WP694419 Whirlpool Buzzer Adjuster
79Switch, Temperature (Variable)
81Knob, Push To Start
83Rack, Literature