| Almond (Uncut) |
| Golden Harvest (Uncut) |
| 799344 Whirlpool Refrigerator Paint |
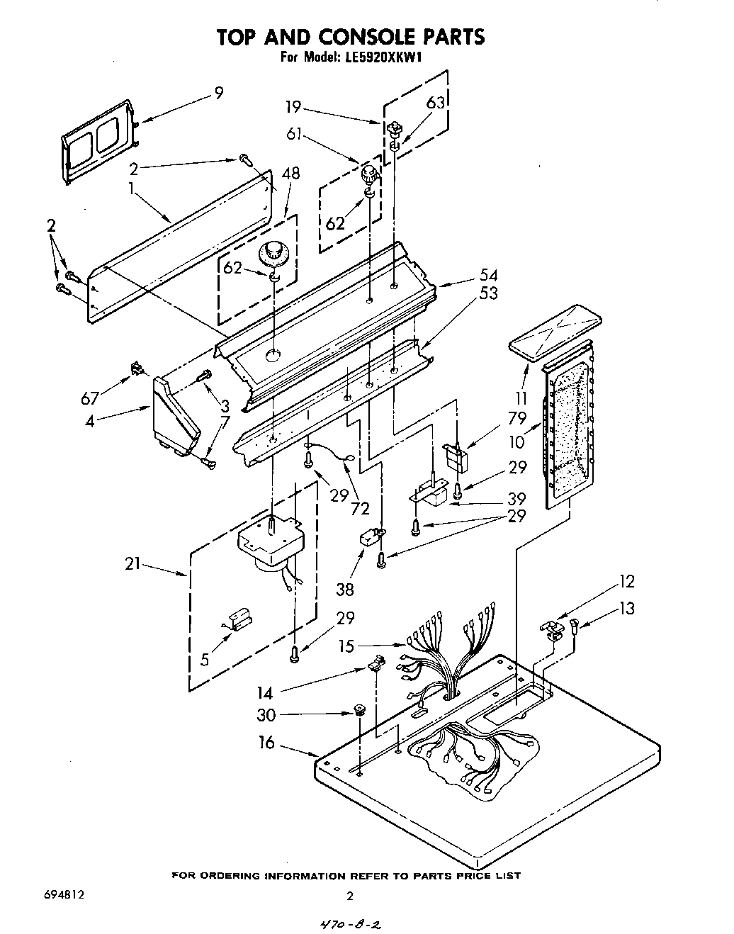
| 1 | Panel, Rear Console |
| 2 | WP489069 Whirlpool Compactor Screw |
| 3 | WPL 355326 |
| 4 | Cap, End (L.H.) (Almond) |
| 4 | Cap, End (L.H.) (Golden Harvest Cap, End (R.H.)) |
| 4 | Cap, End (L.H.) (White) |
| 4 | Cap, End L.H. (Golden Harvest) |
| 4 | Cap, End L.H. (White) |
| 4 | Cap, End L.H. (Almond Cap, End R.H.) |
| 5 | 279872 Whirlpool Resistor |
| 7 | Screw, 8-18 x 1 (2) |
| 9 | Rack, Literature |
| 10 | 339392V Whirlpool Dryer Lint Filter Screen |
| 11 | Cover, Lint Screen (Almond) |
| 11 | Cover, Lint Screen (White) |
| 11 | Cover, Lint Screen (Golden Harvest) |
| 12 | WPW10044470 Whirlpool Hinge Assembly |
| 12 | WPW10044480 Whirlpool Hinge Assembly |
| 13 | W11693756 Whirlpool Screw Assembly |
| 14 | Stop, Push-In Top |
| 15 | Harness, Wiring |
| 16 | top (white) |
| 16 | Top (Almond) |
| 16 | Top (Golden Harvest) |
| 19 | Button Assembly |
| 21 | Timer & Resistor Assembly, 60 Hz. |
| 29 | WP3390631 Whirlpool Screw |
| 30 | Nut, Push-In (2) |
| 38 | WP694419 Whirlpool Buzzer Adjuster |
| 39 | Switch, Temperature Selector |
| 48 | Timer Knob Assembly |
| 53 | Bracket, Control |
| 54 | Panel, Control |
| 61 | Control Knob Assembly |
| 62 | WP688805 Whirlpool Spring Clip |
| 63 | Clip |
| 67 | WP689559 Whirlpool Nut |
| 72 | Wire, Ground |
| 79 | 350938 Whirlpool Spray Gun |
| 79 | Golden Harvest |
| 79 | Instructions, Installation |
| 79 | Use & Care Guide |
| 79 | Switch, Push-To-Start |
| 79 | WPL 799351 |
| 79 | Switch, Push-To-Start (Alternate) |
| 79 | 72110 Whirlpool Dryer Touch-Up Paint, Golden Harvest 6 Oz |
| 79 | 350930 Whirlpool White Spray Paint |
| 79 | WPL 693849 |
| 79 | WPL 685067 |
| 79 | Leveler (Thinner) |
| 79 | WP72107 Whirlpool Touchup |
| 79 | 72017 Whirlpool Appliance Touch-Up Paint White |
| 79 | 350956 Whirlpool Spray Assembly |
| 79 | WPL 694812 |