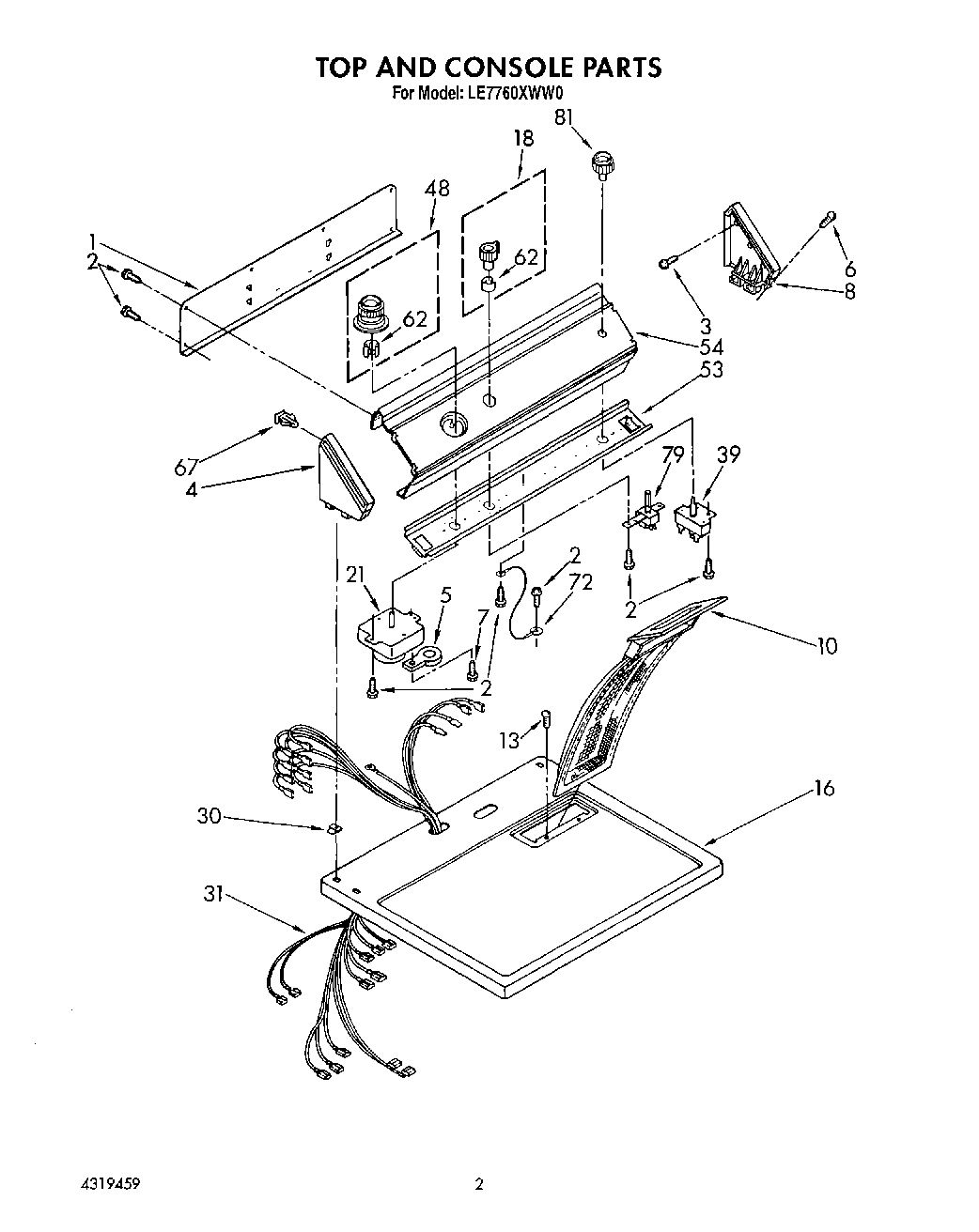
LE7760XWN0 02 – SECTION