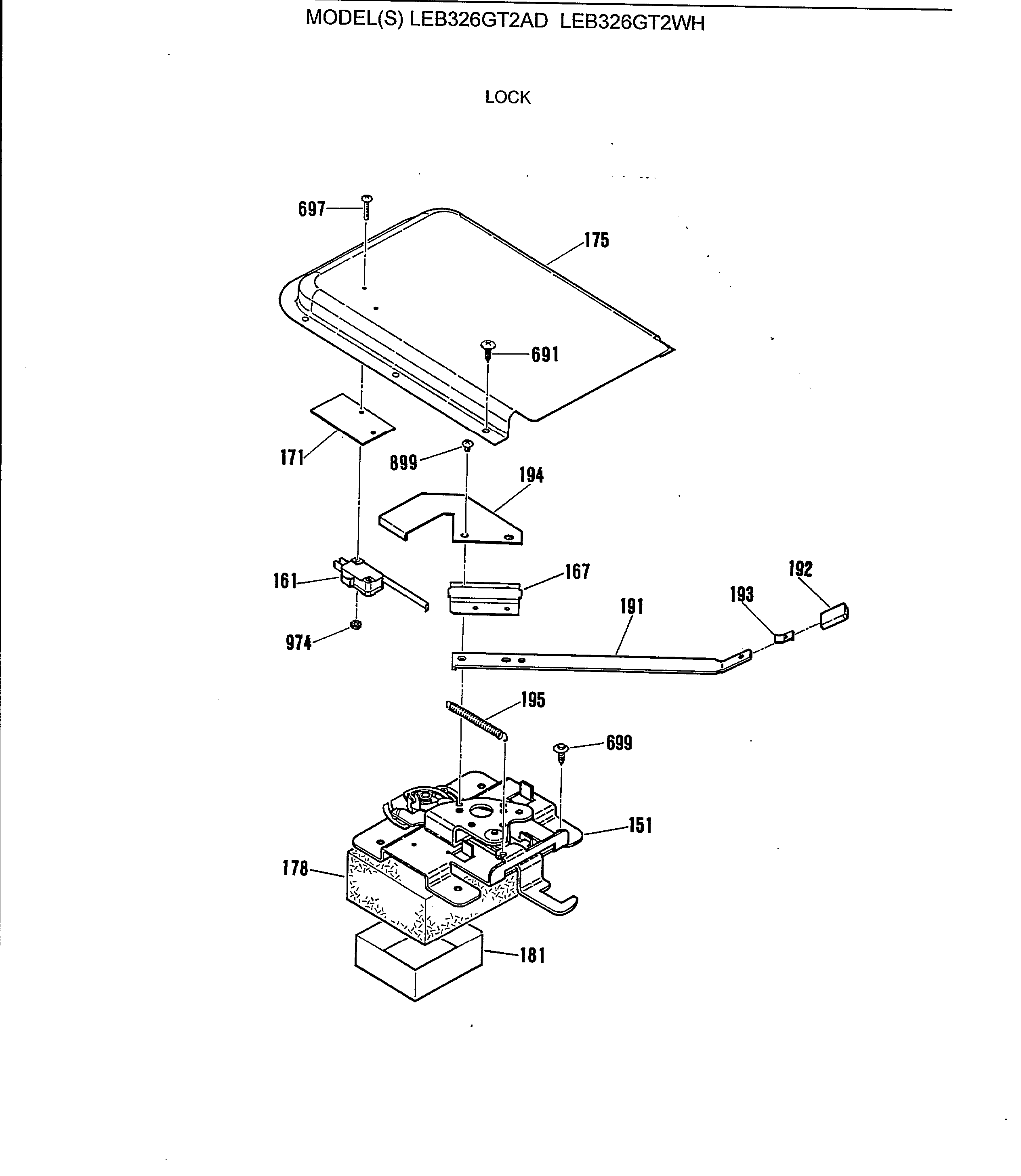
LEB326GT2WH LOCK