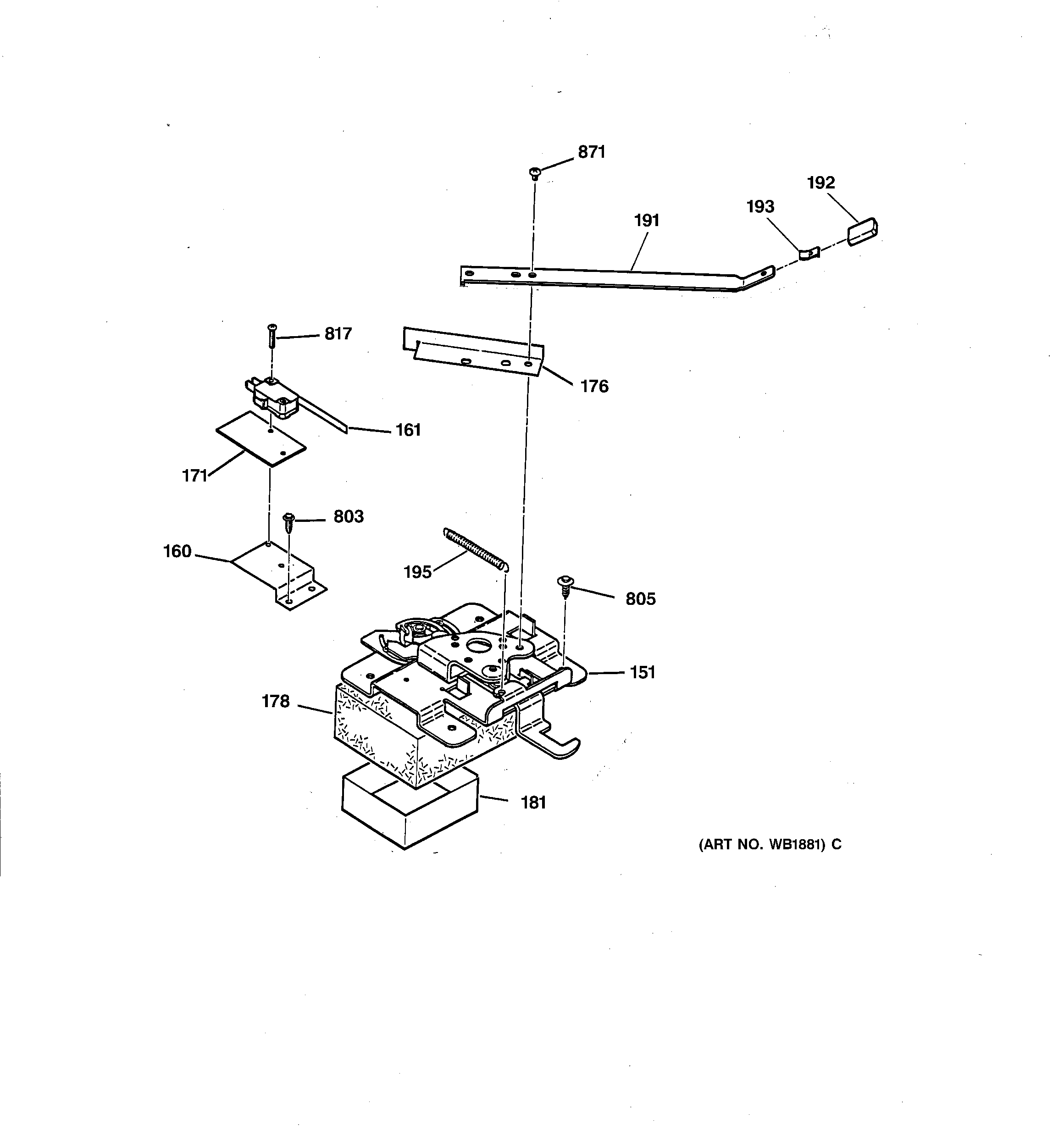
LEB356WT3WW LOCK