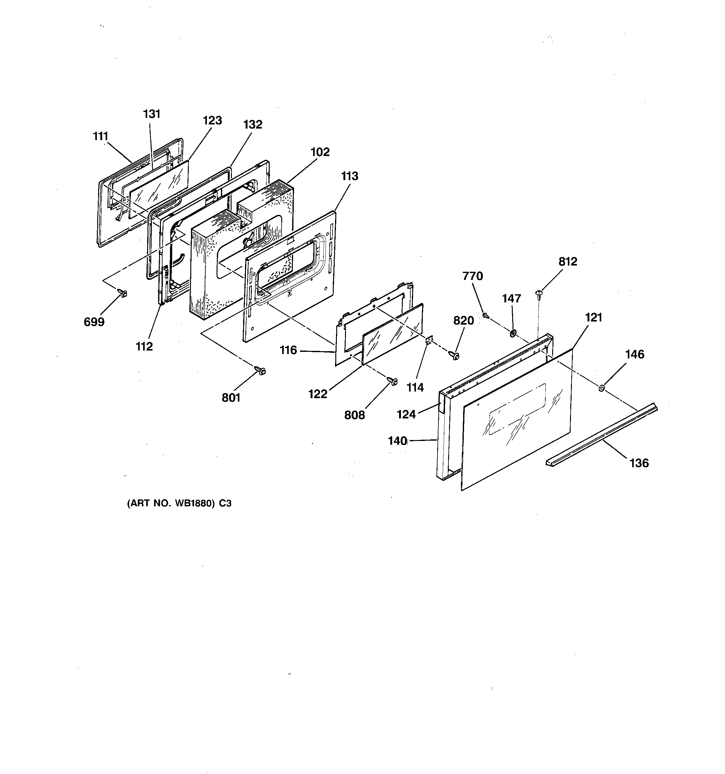
| 102 | OVEN DOOR INSULATION |
| 111 | GEN WB55T10005 |
| 112 | GEN WB55T10003 |
| 113 | INSULATION RETAINER |
| 114 | GEN WB02M0001 |
| 116 | GEN WB02X9178 |
| 121 | GEN WB57K5216 |
| 122 | GEN WB57K5102 |
| 123 | CENTER GLASS |
| 124 | GEN WB35K5104 |
| 132 | WB2K5319 GE Oven Door Gasket |
| 136 | GEN WB15K5058 |
| 140 | GEN WB55K5053 |
| 146 | UNKNOWN |
| 147 | GEN WB02K5312 |
| 699 | WB1M1 GE Oven Screw |
| 770 | WB1K5072 GE Oven Screw |
| 808 | WB1X1116 GE Oven Screw |
| 812 | WB1K5191 GE Oven Zinc FL Screw |
| 820 | WB1X1424D GE Oven Screw Package |