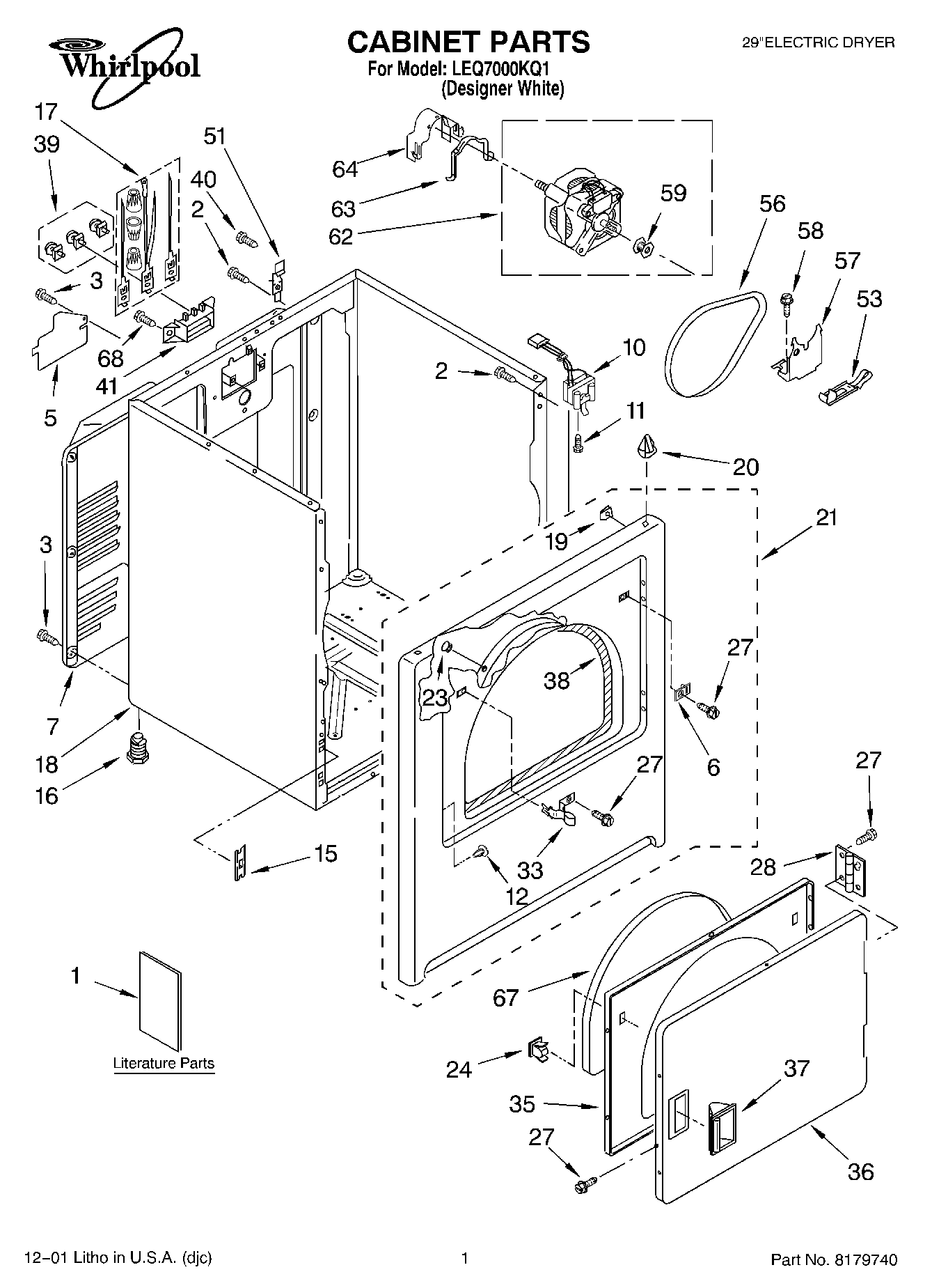
LEQ7000KQ1 01 – SECTION