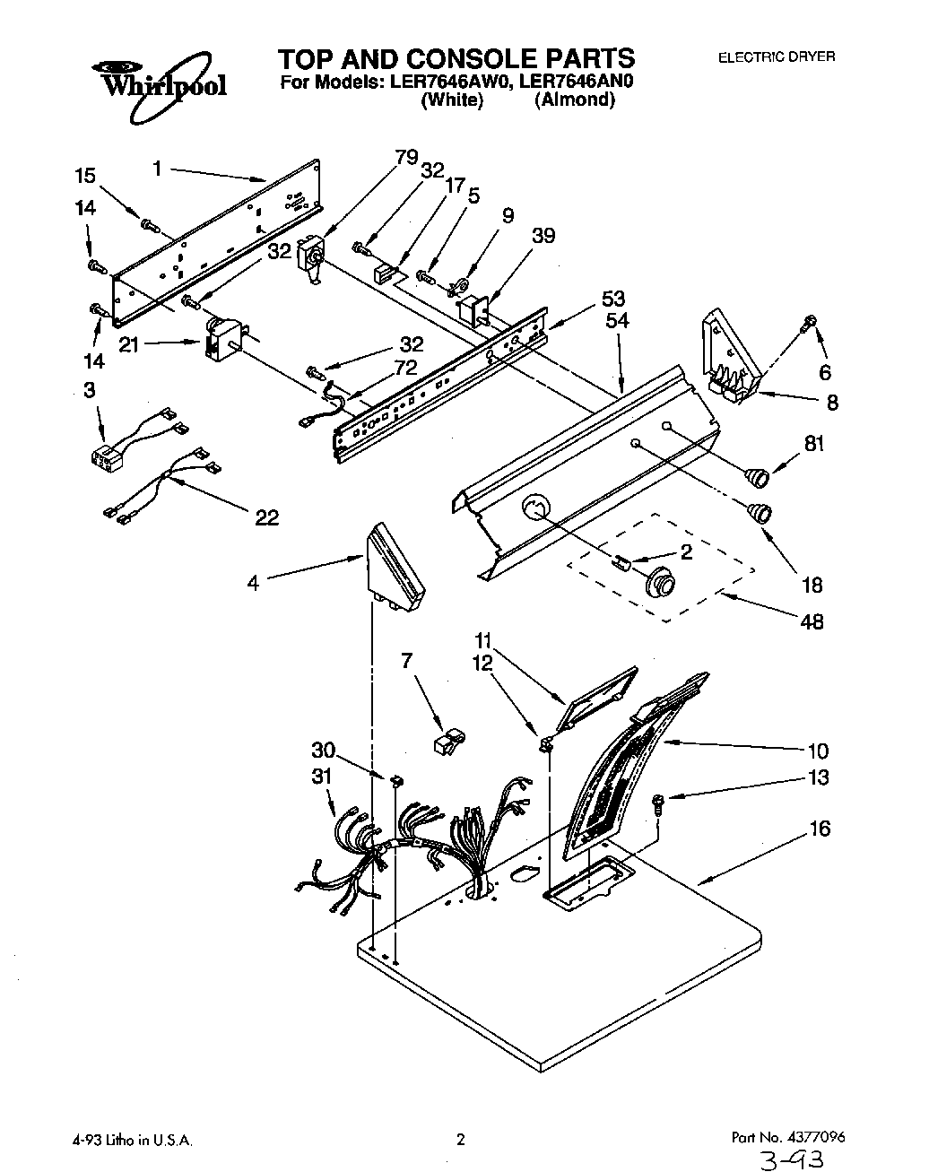
LER7646AW0 01 – SECTION