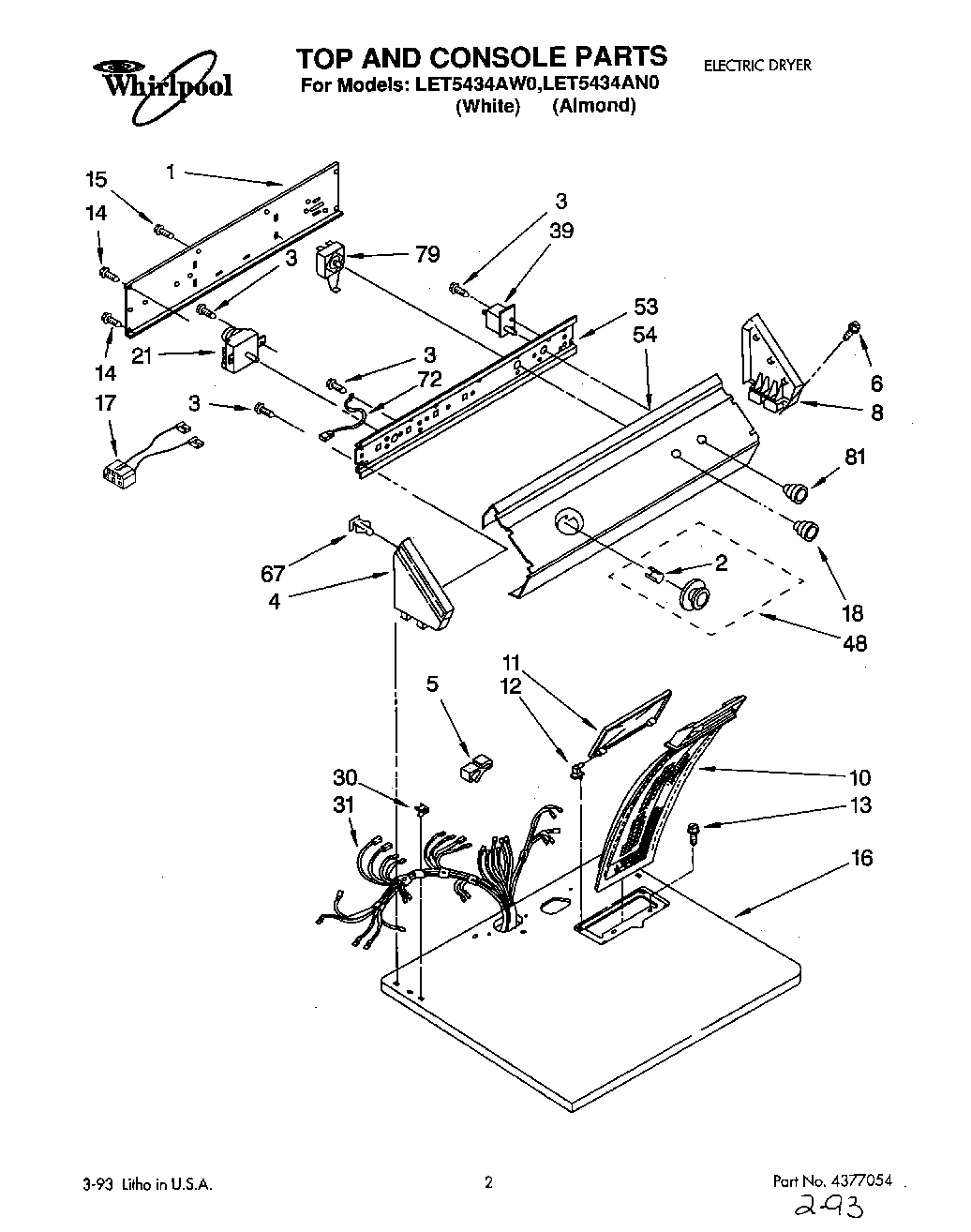
LET5434AW0 01 – SECTION