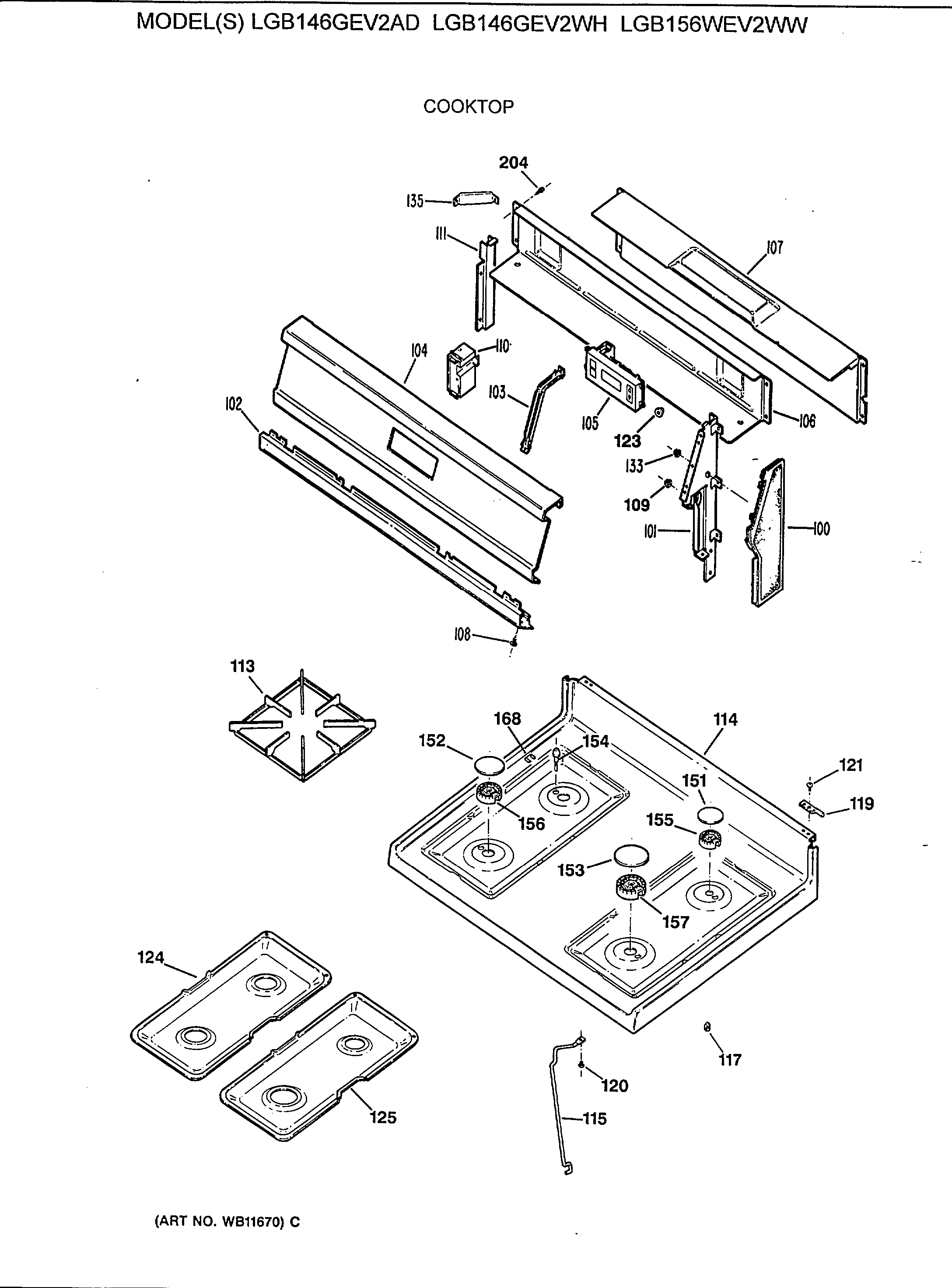
| 100 | COVER END LFT (BK) |
| 100 | COVER END RIGHT (BK) |
| 101 | GEN WB37K0011 |
| 101 | GEN WB37K0012 |
| 102 | GEN WB07K0005 |
| 103 | GEN WB37K0009 |
| 104 | GEN WB36K0057 |
| 105 | GEN WB11K0036 |
| 106 | GEN WB36K0017 |
| 107 | GEN WB36K0002 |
| 108 | WB1X5364 GE Oven Mounting Screw |
| 109 | GEN WB01X5743 |
| 110 | HARNESS HV |
| 110 | GEN WB13K0025 |
| 111 | GEN WB34K0005 |
| 113 | GEN WB31K0046 |
| 114 | GEN WB62K0027 |
| 115 | WB2K91 GE Oven Top Support |
| 117 | GEN WB02K0017 |
| 119 | WB14K5 GE Oven Hinge Pin |
| 120 | WB1K45 GE Oven Screw and Washer Assembly |
| 121 | WB1K5119 GE Oven Screw |
| 124 | GEN WB32K0010 |
| 125 | GEN WB32K0009 |
| 133 | GEN WB01K0022 |
| 135 | GEN WB37K0010 |
| 143 | SCREW MTG END CAP |
| 151 | CAP BURNER SMALL (BK) |
| 152 | CAP BURNER MED (BK) |
| 153 | CAP BURNER LG (BK) |
| 154 | WB13K18 GE Oven Electrode |
| 155 | BURNER HEAD-SM |
| 156 | BURNER HEAD-MED |
| 157 | BURNER HEAD-LG |
| 168 | ELECTRODE CLIP |
| 204 | WB1K5062 GE Oven Screw |
| 752 | WZ4X345D GE Screw Package 12 C92 |