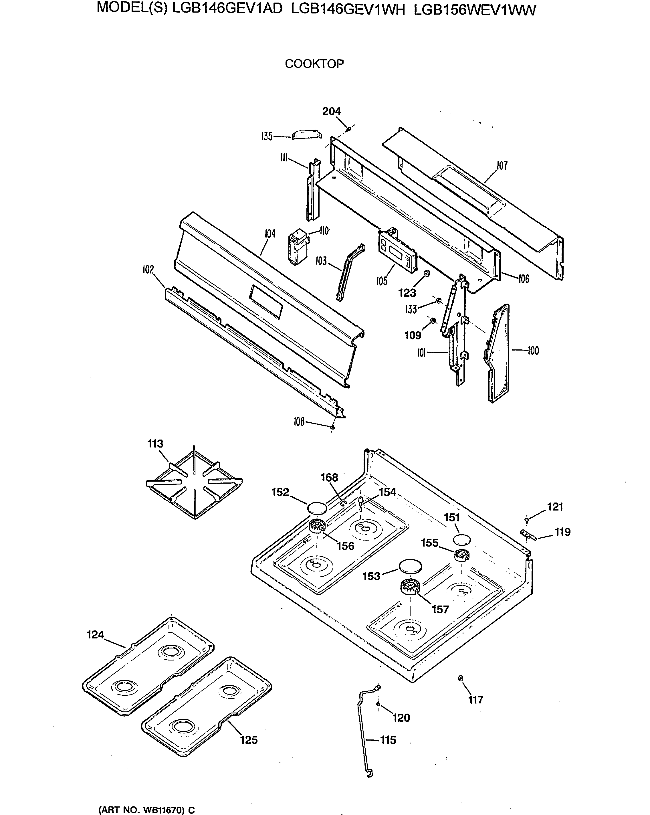
LGB156WEV1WW COOKTOP