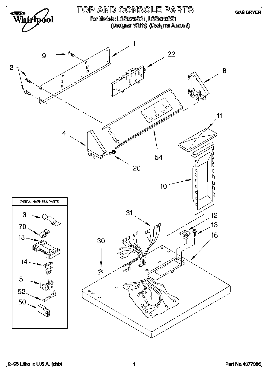
LGE9848BQ1 01 – TOP AND CONSOLE, LIT/OPTIONAL