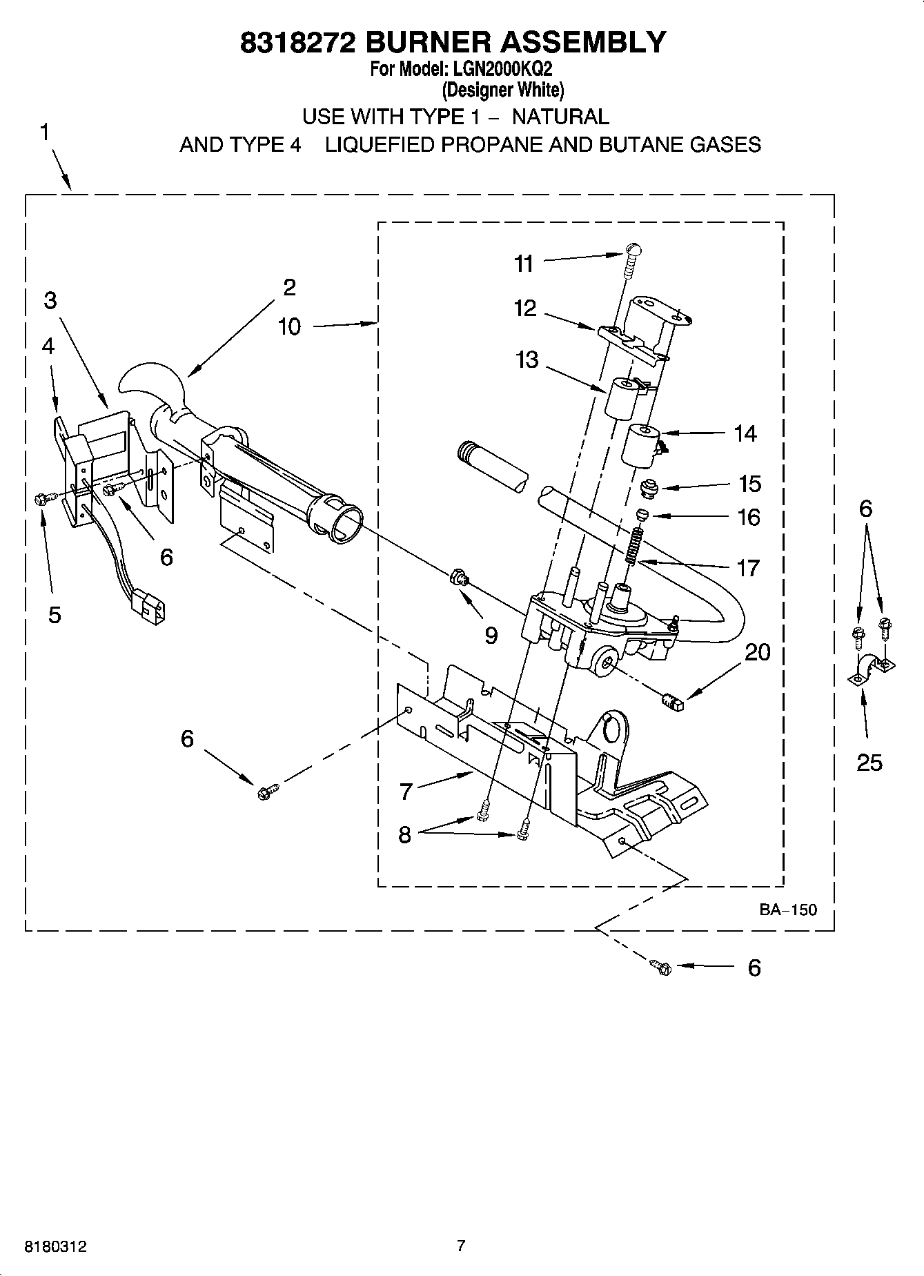
LGN2000KQ2 04 – 8318272 BURNER ASSEMBLY