LGP7858AN0 01 – TOP AND CONSOLE, LIT/OPTIONAL

LGP7858AN0 01 – TOP AND CONSOLE, LIT/OPTIONAL

Products

PositionProduct
350930 Whirlpool White Spray Paint
Dryer
Instructions, Installation
Almond (Uncut)
Guide, Use & Care
Leveler (Thinner)
WP72107 Whirlpool Touchup
799344 Whirlpool Refrigerator Paint
WPL LIT4377085
350938 Whirlpool Spray Gun
350956 Whirlpool Spray Assembly
72017 Whirlpool Appliance Touch-Up Paint White
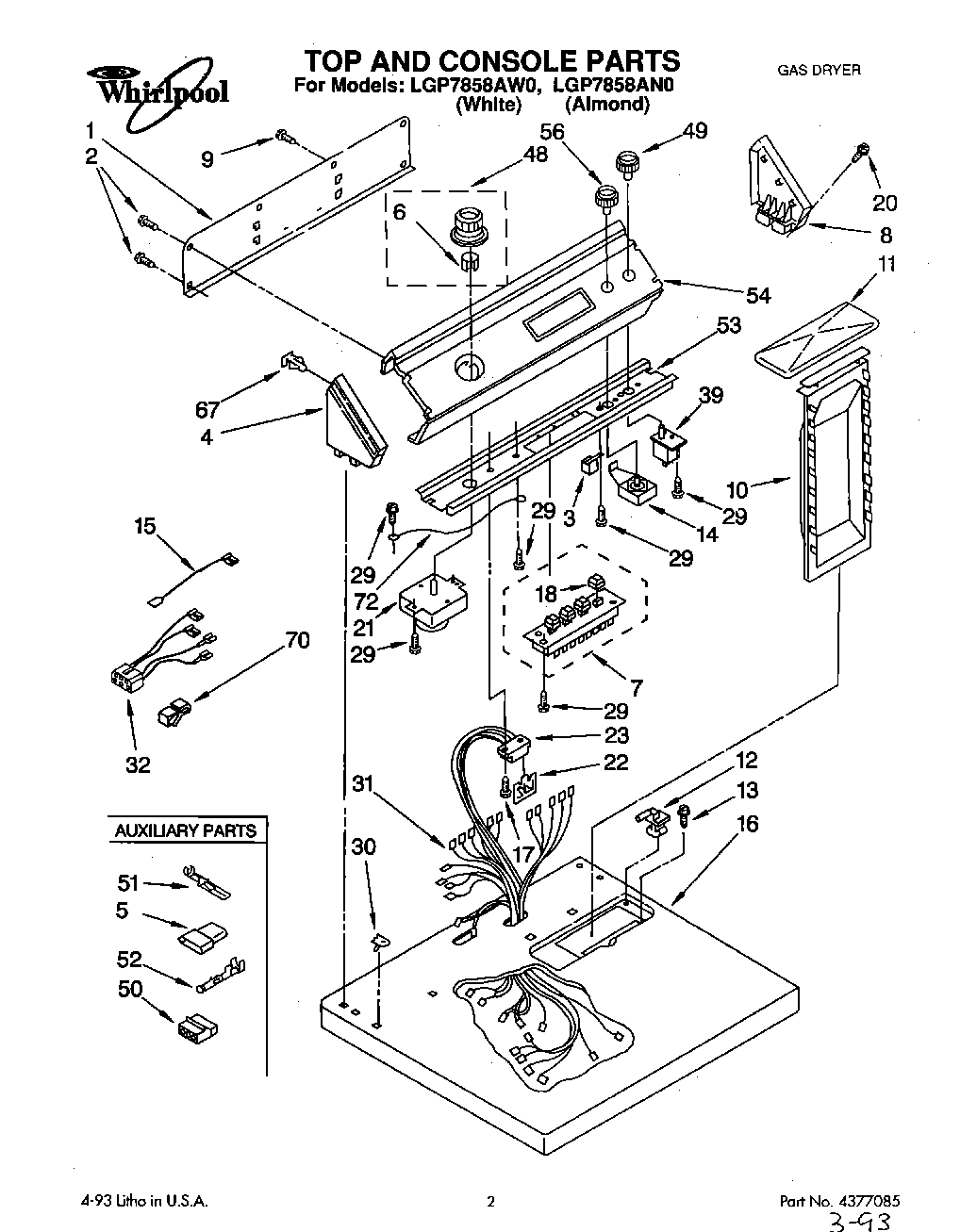
1Panel, Rear Console
2WP489069 Whirlpool Compactor Screw
3WP694419 Whirlpool Buzzer Adjuster
4Cap, End (L.H.) (Almond)
4Cap, End (L.H.) (White)
5353424 Whirlpool Connector
6WP688805 Whirlpool Spring Clip
7Switch, 4-Position Temperature
8Cap, End (R.H.) (White)
8Cap, End (R.H.) (Almond)
9WP693995 Whirlpool Screw
10WP349639 Whirlpool Lint Filter
11Cover, Lint Screen (White)
11Cover, Lint Screen (Almond)
12WPW10044470 Whirlpool Hinge Assembly
12WPW10044480 Whirlpool Hinge Assembly
13W11693756 Whirlpool Screw Assembly
14Switch, Finish Guard
15Wire, Jumper (Violet)
15Wire, Jumper (Blue)
16Top (Almond)
16Top (White)
17SCREW
18PushButton
20WP388326 Whirlpool Screw
21WP3397273 Whirlpool Timer
22WPW10476828-includeCORE Whirlpool WPW10476828 Refrigerator Electronic Control Board + Core
233391885 Whirlpool Connector
29WPW10139210 Whirlpool Screw
30WP357213 Whirlpool Hinge Stopper
31Harness, Wiring
32Wire, Jumper (Guard/Signal)
39Relay, Push-To-Start
48WP3957752 Whirlpool Knob
49Knob, Push To Start
50Receptacle, 3-Way Terminal (Use W/94614)
51WP596797 Whirlpool Terminal
52WP94614 Whirlpool Terminal
53Bracket, Control
54Panel, Control (White)
54Panel, Control (Almond)
56KNOB
67WP689559 Whirlpool Nut
70Clip, Retainer
72Wire, Ground