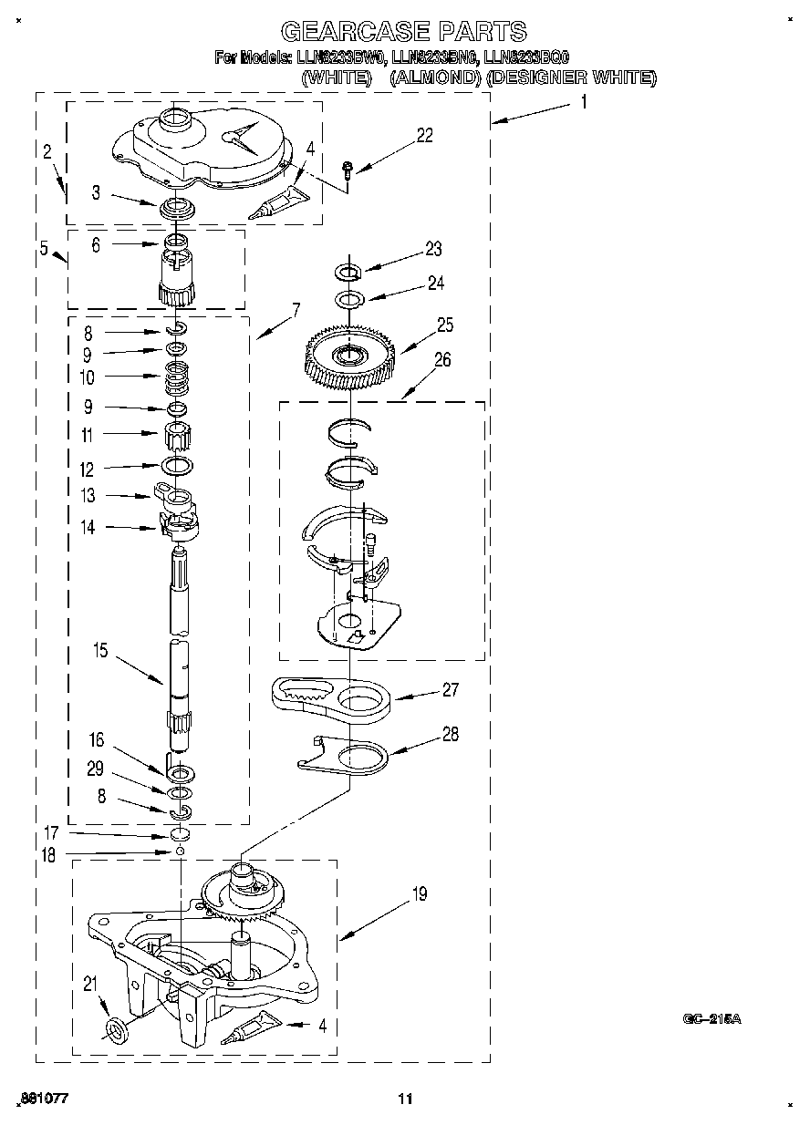
LLN8233BW0 09 – GEARCASE