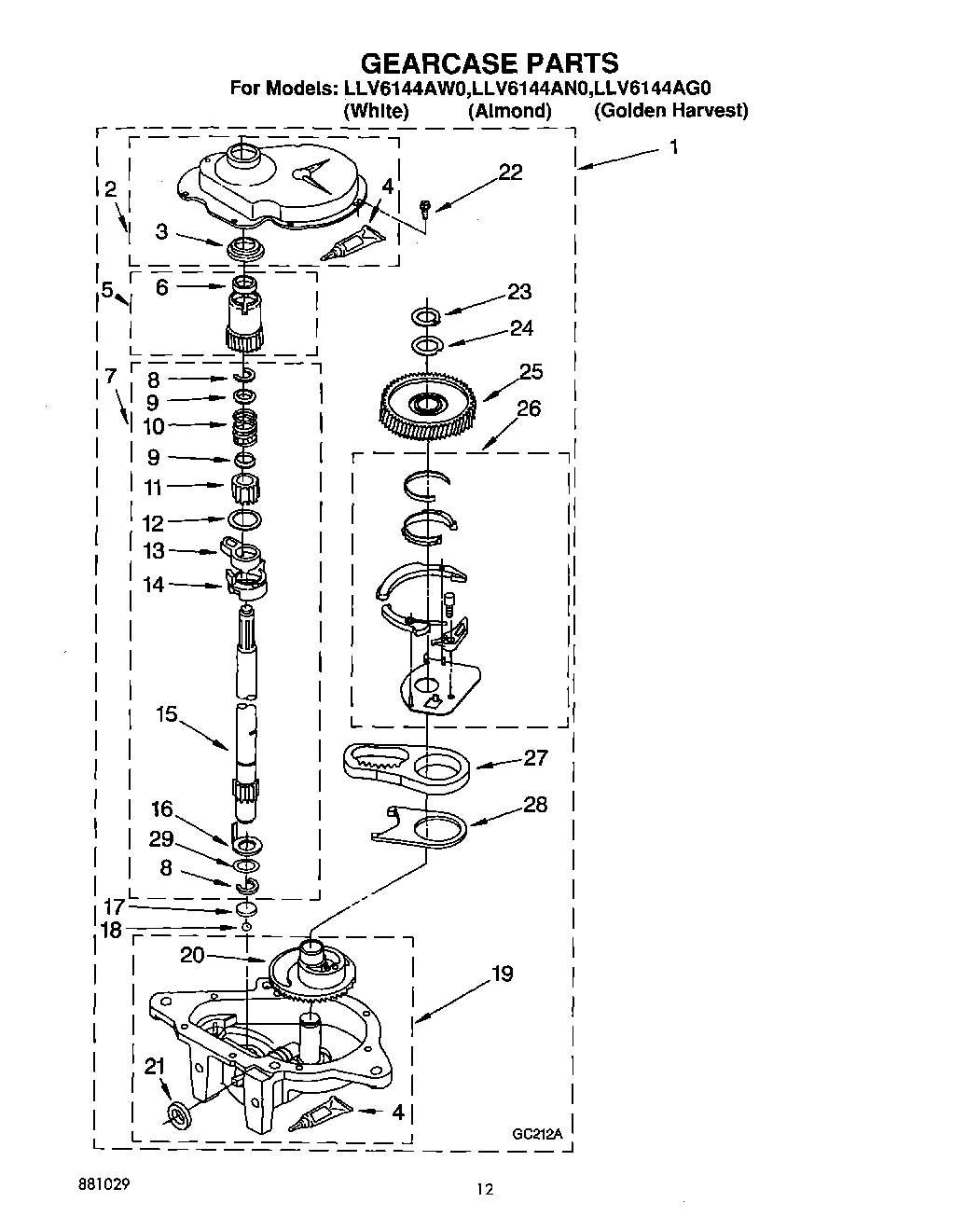
LLV6144AN0 10 – GEARCASE