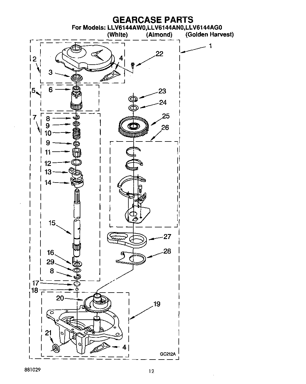
LLV6144AW0 10 – GEARCASE