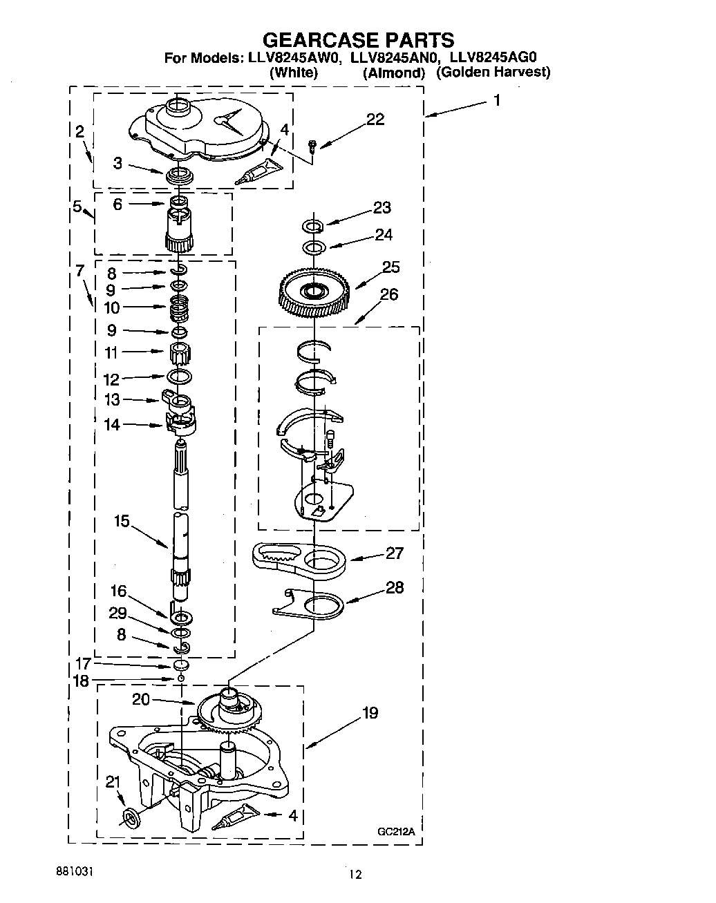
LLV8245AG0 10 – GEARCASE