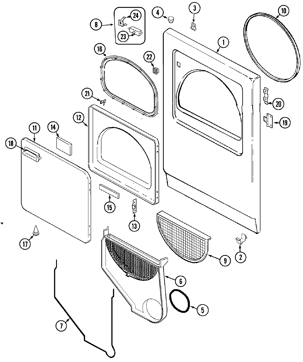
LNC8764A71 03 – DOOR (SERIES 11)admin2025-04-26T10:27:13+00:00LNC8764A71 03 – DOOR (SERIES 11) ProductsPositionProduct1MAY 53-07262WP53-0120 Whirlpool Clip3MAY 310015264MAY 33-2653612001324 Whirlpool Collector Duct7MAY 53-02048NOT REQUIRED PART OR SEE NOTE FUSE (NOT REQUIRED)8MAY LA-10059WP53-0918 Whirlpool Lint Filter10WP31001747 Whirlpool Seal Assembly11MAY 25-777011MAY 53-015412MAY 53-091213MAY 53-011914MAY 53-149015MAY 53-149116WP31001529 Whirlpool Door Seal17MAY 25-788918MAY 53-092718MAY 25-781019MAY 53-149219W10756178 Whirlpool Screw20MAY 53-012122LA-1003 Whirlpool Dryer Door Catch and Metal Strike23MAY 53-014823MAY 3100173224WP31001319 Whirlpool Clip24MAY 31001733