LPR4231AW0 02 – CONSOLE AND FRONT PANELadmin2025-04-26T12:16:48+00:00LPR4231AW0 02 – CONSOLE AND FRONT PANEL
Products
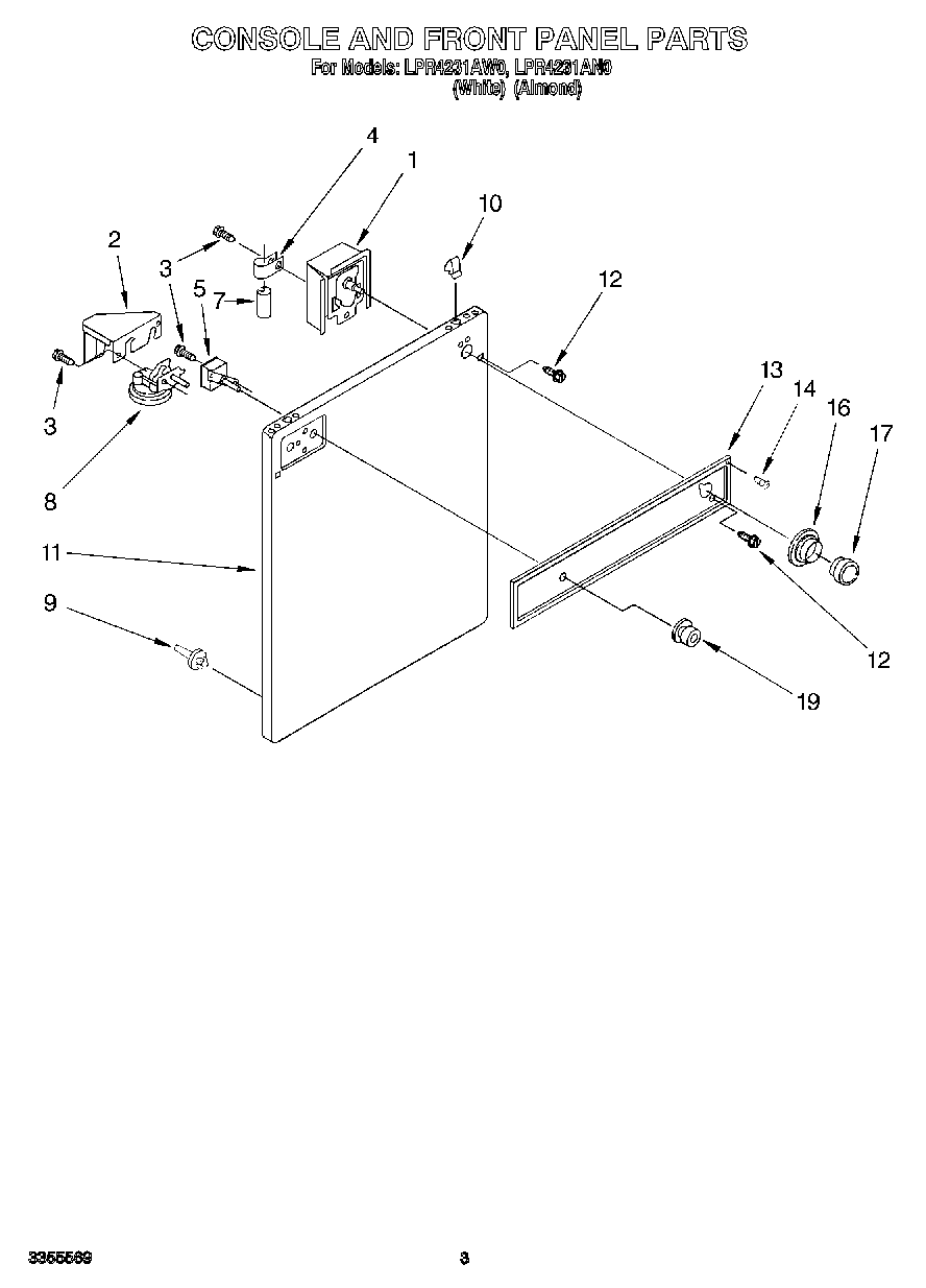
| Position | Product |
|---|
| 1 | Timer, 60 Hz. (Serviced Only As A Complete Assembly. Timer Motor Is Non Serviceable.) |
| 2 | Shield, Control |
| 3 | Screw, No.8 x 5/16 |
| 4 | 357030 Whirlpool Clamp |
| 5 | Switch, Water Temperature |
| 6 | Screw, 10-32 x 3/8 |
| 7 | CAPACITOR |
| 8 | Switch, Water Level |
| 9 | Locator, Top |
| 10 | Lock, Front Top |
| 11 | Panel, Front (Almond Model) |
| 11 | Panel, Front (White Model) |
| 12 | WP356418 Whirlpool Screw |
| 13 | Panel, Console (White) |
| 13 | Panel, Console (Almond) |
| 14 | Rivet, Plastic (4) |
| 16 | Dial, Timer (Almond) |
| 16 | Dial, Timer (White) |
| 17 | WPL 3392698 |
| 17 | Knob, Timer (Almond) |
| 19 | Knob & Skirt (Water Temperature) (White Model) |
| 19 | Knob & Skirt (Water Temperature) (Almond Model) |