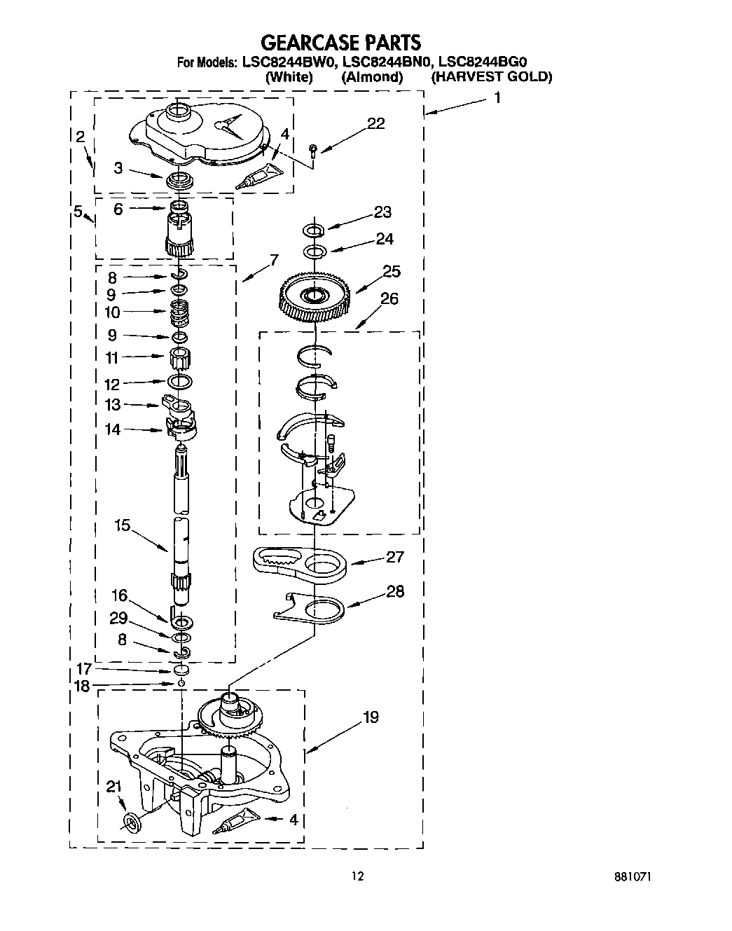
LSC8244BG0 10 – GEARCASE