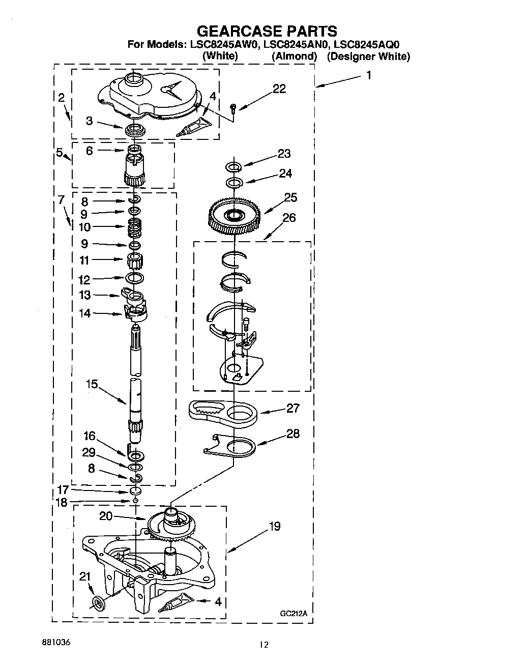
LSC8245AW0 10 – GEARCASE